李佳琦美one公司回应:老老实实经营,本本分分直播,一切经营正常快讯
TechWeb.com.cn
2021-12-20 17:46
导读
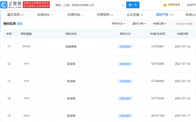
李佳琦背后公司美腕(上海)网络科技有限公司(简称,李佳琦当前共关联16家企业,该公司关联商标数量超200个。
【TechWeb】12月20日,据红星新闻报道,12月20日,浙江省税务局公布薇娅偷逃税案件,依法对黄薇(薇娅)作出税务行政处理处罚决定,追缴税款、加收滞纳金并处罚款共计13.41亿元。
消息出来后,作为头部主播之一,李佳琦的动向也备受关注。
20日下午,李佳琦背后公司美腕(上海)网络科技有限公司(简称“美one”)相关负责人接受采访称:“我们老老实实经营,本本分分直播,美腕一切经营正常。”
企查查APP显示,美腕(上海)网络科技有限公司,成立于2014年12月,由宁波美腕网络科技有限公司全资持股。该公司关联商标数量超200个,包括“奈娃家族”、“李佳琦”、“所有女生的零食街”等,上述商标状态为“注册申请中”。企查查风险信息显示,今年8月,该公司因“虚假或者引人误解的商业宣传”,被罚款30万元。
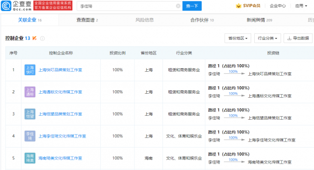
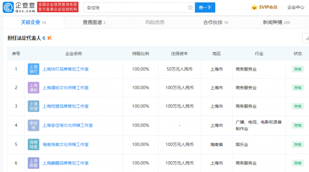
企查查显示,李佳琦当前共关联16家企业,其中在6家企业中担任法定代表人,企业状态均为在业存续,控制企业数量达13家。




李佳琦
公司
查查
显示
罚款
1.TMT观察网遵循行业规范,任何转载的稿件都会明确标注作者和来源;
2.TMT观察网的原创文章,请转载时务必注明文章作者和"来源:TMT观察网",不尊重原创的行为TMT观察网或将追究责任;
3.作者投稿可能会经TMT观察网编辑修改或补充。
