腾讯注册“微信云服务”商标快报
TechWeb.com.cn
2021-07-27 15:42
导读
当前商标状态均为注册申请中,腾讯科技(深圳)有限公司申请注册多项,商标。
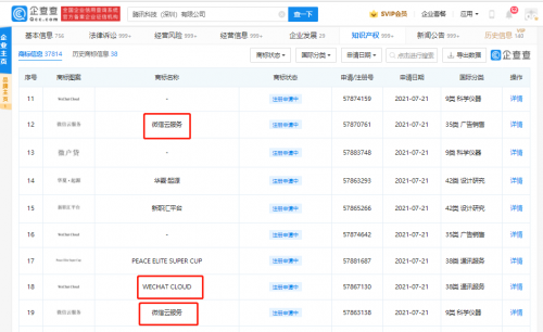
【TechWeb】企查查APP显示,近日,腾讯科技(深圳)有限公司申请注册多项“微信云服务”“WECHAT CLOUD”商标,国际分类含科学仪器、广告销售、设计研究等,当前商标状态均为注册申请中。


商标
注册
申请
近日
腾讯
1.TMT观察网遵循行业规范,任何转载的稿件都会明确标注作者和来源;
2.TMT观察网的原创文章,请转载时务必注明文章作者和"来源:TMT观察网",不尊重原创的行为TMT观察网或将追究责任;
3.作者投稿可能会经TMT观察网编辑修改或补充。
