华与华曾申请品牌营销全能型商标 华与华已申请不骗人不贪心商标观点
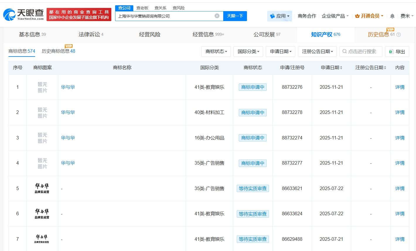
天眼查工商信息显示,华与华关联公司上海华与华营销咨询有限公司成立于2004年1月,法定代表人为华杉,注册资本200万人民币,经营范围包括企业管理咨询、商务咨询、企业形象策划等。股东信息显示,该公司由华楠、华杉共同持股。知识产权信息显示,该公司去年申请注册“华与华品牌营销全能型”“华与华不骗人不贪心不偷懒”商标,国际分类为教育娱乐、广告销售,当前商标状态均为等待实质审查。
天眼查工商信息显示,华与华关联公司上海华与华营销咨询有限公司成立于2004年1月,法定代表人为华杉,注册资本200万人民币,经营范围包括企业管理咨询、商务咨询、企业形象策划等。股东信息显示,该公司由华楠、华杉共同持股。知识产权信息显示,该公司去年申请注册“华与华品牌营销全能型”“华与华不骗人不贪心不偷懒”商标,国际分类为教育娱乐、广告销售,当前商标状态均为等待实质审查。
西贝关联公司内蒙古西贝餐饮集团有限公司成立于2017年10月,法定代表人为贾国龙,注册资本约8990万人民币,经营范围含餐饮服务、食品生产、食品互联网销售等,由北京西贝企业管理有限公司、贾国龙、呼和浩特市人生喜悦企业管理中心(有限合伙)等共同持股。值得一提的是,近日,该公司旗下呼和浩特市俊义企业管理有限公司新增一则简易注销公告,公告期为1月13日至2月2日。此外,自去年9月罗永浩在社交平台吐槽西贝菜品“几乎全是预制菜”后,该公司旗下贵州西贝万家餐饮管理有限公司、广州西贝餐饮有限公司、惠州莜面村高峰餐饮管理有限公司等十余家公司发生高管变更。




1.TMT观察网遵循行业规范,任何转载的稿件都会明确标注作者和来源;
2.TMT观察网的原创文章,请转载时务必注明文章作者和"来源:TMT观察网",不尊重原创的行为TMT观察网或将追究责任;
3.作者投稿可能会经TMT观察网编辑修改或补充。
