阿维塔申请阿维塔新豪华商标观点
观察君
2025-02-06 12:07
导读
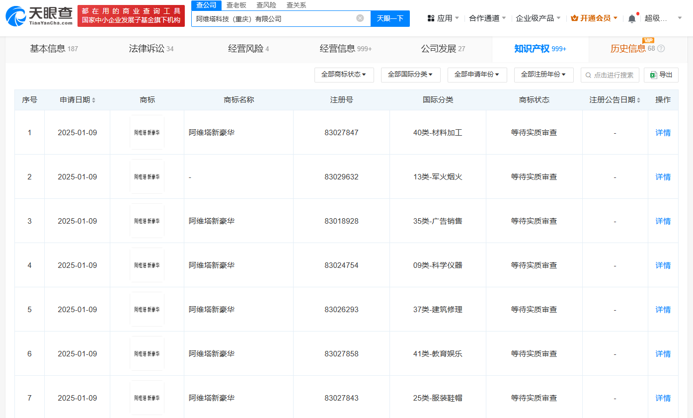
近期,阿维塔科技(重庆)有限公司申请注册多枚“阿维塔新豪华”商标,国际分类涉及广告销售、教育娱乐、运输贮藏等,当前商标状态均为等待实质审查。
天眼查知识产权信息显示,近期,阿维塔科技(重庆)有限公司申请注册多枚“阿维塔新豪华”商标,国际分类涉及广告销售、教育娱乐、运输贮藏等,当前商标状态均为等待实质审查。


阿维塔
1.TMT观察网遵循行业规范,任何转载的稿件都会明确标注作者和来源;
2.TMT观察网的原创文章,请转载时务必注明文章作者和"来源:TMT观察网",不尊重原创的行为TMT观察网或将追究责任;
3.作者投稿可能会经TMT观察网编辑修改或补充。
