出品方已登记唐探1900多款作品著作权 出品方已注册唐探1900商标观点
观察君
2025-02-05 11:47
导读
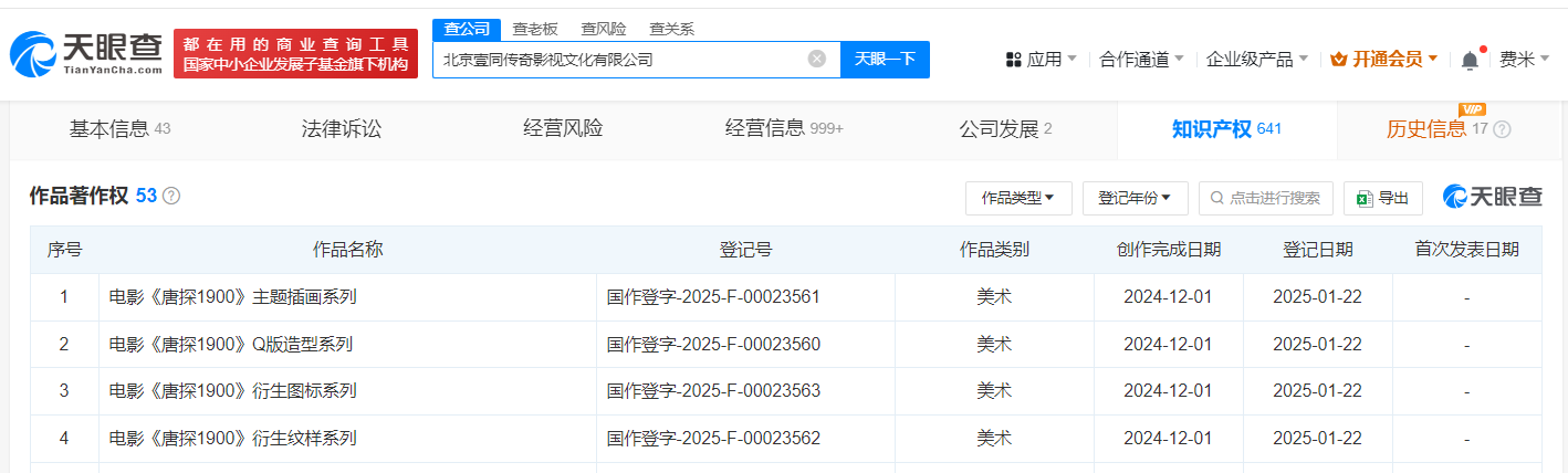
天眼查知识产权信息显示,近日,电影《唐探1900》出品方北京壹同传奇影视文化有限公司登记“电影《唐探1900》主题插画系列”“电影《唐探1900》Q版造型系列”等多款美术作品著作权。
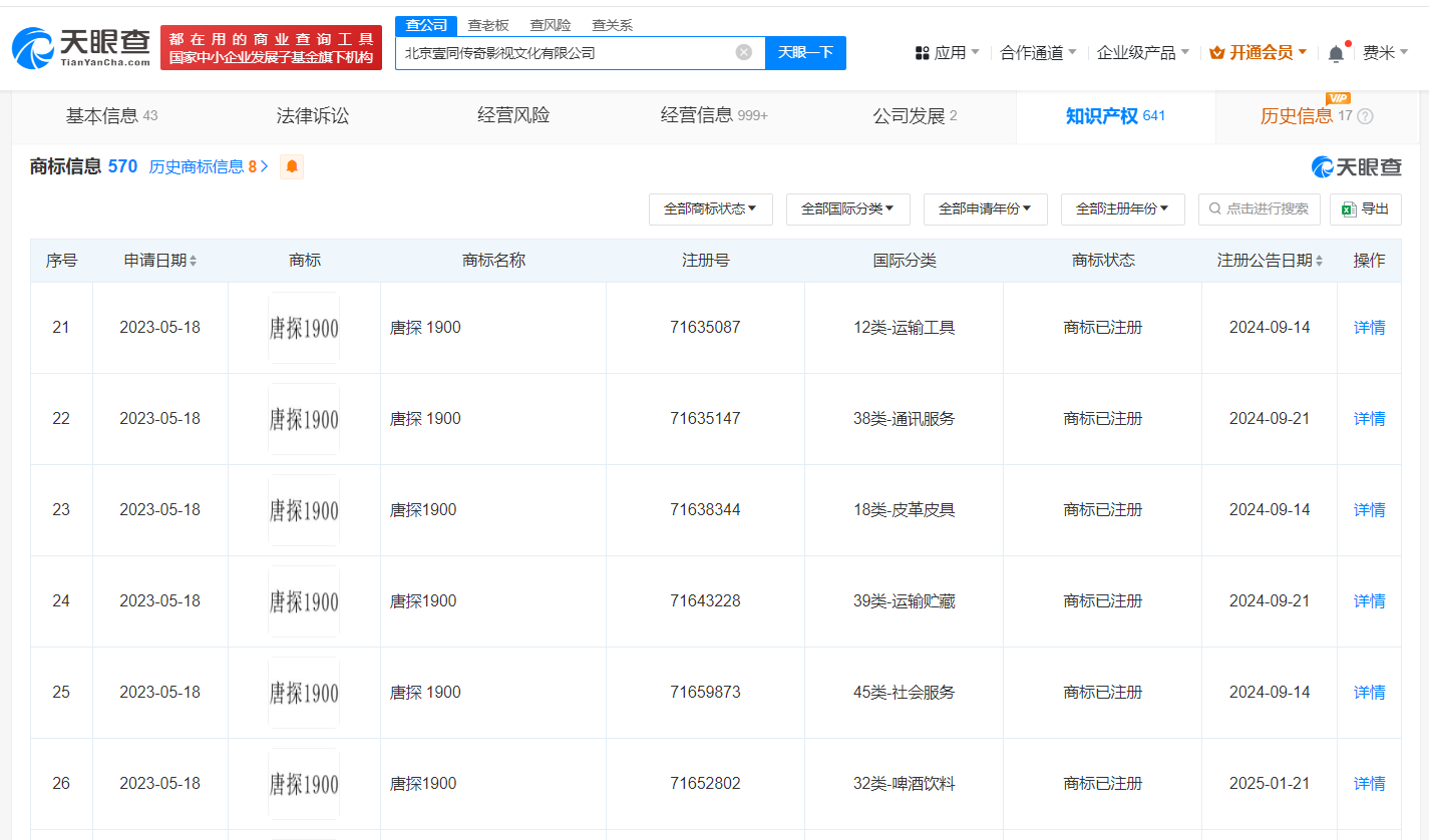
天眼查知识产权信息显示,近日,电影《唐探1900》出品方北京壹同传奇影视文化有限公司登记“电影《唐探1900》主题插画系列”“电影《唐探1900》Q版造型系列”等多款美术作品著作权。值得一提的是,该公司已成功注册多枚“唐探 1900”商标,国际分类含运输工具、通讯服务、皮革皮具等。
北京壹同传奇影视文化有限公司成立于2019年6月,法定代表人为陈胜奇,注册资本850万人民币,经营范围含组织文化艺术交流活动、电影制片、电影摄制服务、文艺创作、文化娱乐经纪人服务、广告发布等,由北京壹同视界管理咨询有限公司、壹同星诚(天津)企业管理合伙企业(有限合伙)、上海万视可达影视文化传媒有限公司、陈思成共同持股。
唐探1900
1.TMT观察网遵循行业规范,任何转载的稿件都会明确标注作者和来源;
2.TMT观察网的原创文章,请转载时务必注明文章作者和"来源:TMT观察网",不尊重原创的行为TMT观察网或将追究责任;
3.作者投稿可能会经TMT观察网编辑修改或补充。
