钟薛高及其子公司被强执15.8万观点
观察君
2024-11-18 17:38
导读
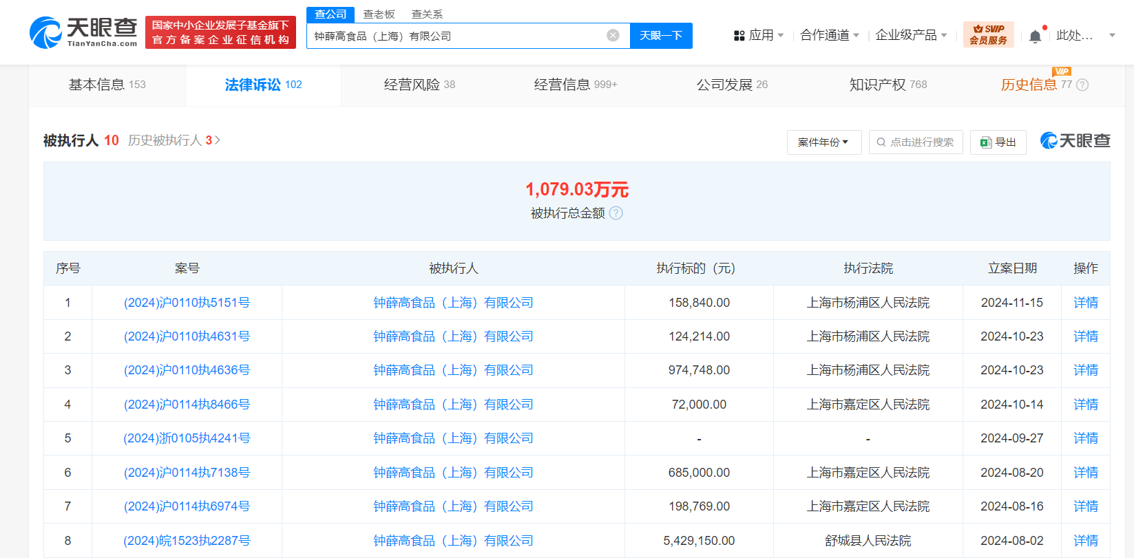
天眼查法律诉讼信息显示,近日,钟薛高食品(上海)有限公司、钟茂(上海)食品科技有限公司新增一条被执行人信息,执行标的15.8万余元,涉及买卖合同纠纷案件,执行法院为上海市杨浦区人民法院。
天眼查法律诉讼信息显示,近日,钟薛高食品(上海)有限公司、钟茂(上海)食品科技有限公司新增一条被执行人信息,执行标的15.8万余元,涉及买卖合同纠纷案件,执行法院为上海市杨浦区人民法院。
钟薛高食品(上海)有限公司成立于2018年3月,法定代表人为林盛,注册资本约12.03亿人民币,由Gloryseed HK Limited全资持股。风险信息显示,该公司现存10条被执行人信息,被执行总金额超1079万元,此外还存在多条限制消费令、失信被执行人(老赖)及股权冻结信息。


钟薛高
15.8万
1.TMT观察网遵循行业规范,任何转载的稿件都会明确标注作者和来源;
2.TMT观察网的原创文章,请转载时务必注明文章作者和"来源:TMT观察网",不尊重原创的行为TMT观察网或将追究责任;
3.作者投稿可能会经TMT观察网编辑修改或补充。
