京东申请注册京东医美商标 京东申请注册JOYAI商标观点
观察君
2025-04-14 11:10
导读
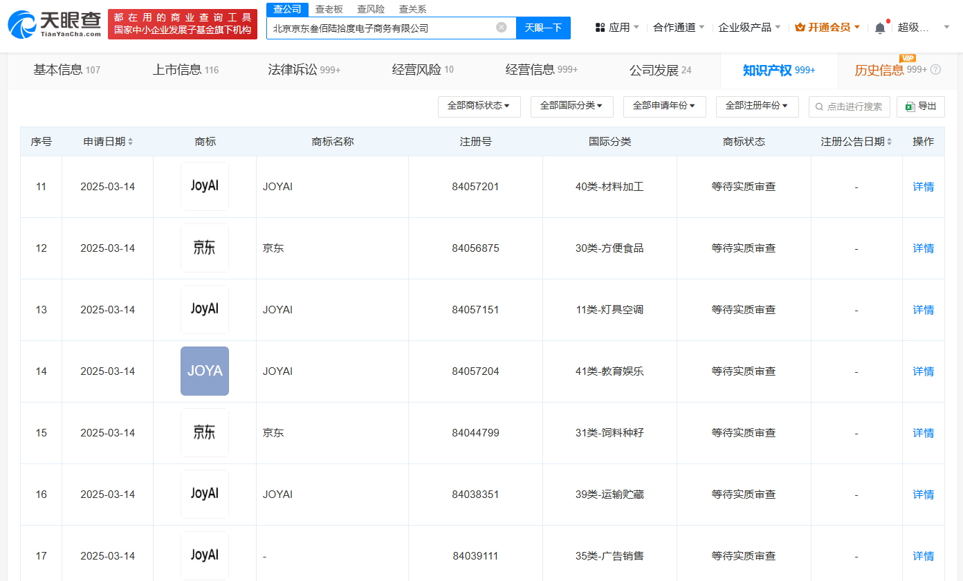
天眼查App显示,近日,北京京东叁佰陆拾度电子商务有限公司申请注册多枚“JOYAI”“京东医美”商标,国际分类涉及教育娱乐、广告销售等,当前商标为等待实质审查。
天眼查App显示,近日,北京京东叁佰陆拾度电子商务有限公司申请注册多枚“JOYAI”“京东医美”商标,国际分类涉及教育娱乐、广告销售等,当前商标为等待实质审查。
该公司成立于2007年4月,法定代表人为张奇,注册资本29.2亿人民币,经营范围含机械设备销售、五金产品零售、五金产品批发、建筑材料销售、电子产品销售等,由缪钦、李娅云、张雱共同持股。


京东
1.TMT观察网遵循行业规范,任何转载的稿件都会明确标注作者和来源;
2.TMT观察网的原创文章,请转载时务必注明文章作者和"来源:TMT观察网",不尊重原创的行为TMT观察网或将追究责任;
3.作者投稿可能会经TMT观察网编辑修改或补充。
