拼多多申请“明星团”、“快团团明星团”商标快报
TechWeb.com.cn
2021-08-06 15:12
导读
商标申请信息,快团团明星团,明星团。
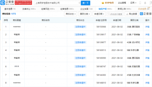
【TechWeb】企查查APP显示,近日,拼多多关联公司上海寻梦信息技术有限公司新增“明星团”、“快团团明星团”商标申请信息,国际分类涉及通讯服务、广告销售、科学仪器等,目前商标状态均为“注册申请中”。



商标
申请
近日
明星
多多
1.TMT观察网遵循行业规范,任何转载的稿件都会明确标注作者和来源;
2.TMT观察网的原创文章,请转载时务必注明文章作者和"来源:TMT观察网",不尊重原创的行为TMT观察网或将追究责任;
3.作者投稿可能会经TMT观察网编辑修改或补充。
