比亚迪、红杉基金等投资成立粤港澳大湾区科技创新产业投资基金快讯
TechWeb.com.cn
2021-12-02 18:27
导读
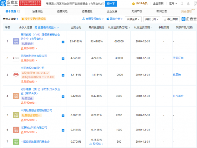
以私募基金从事股权投资、投资管理、资产管理等活动,企查查股权穿透显示,该公司由比亚迪(002594)、红杉煜晟(厦门)股权投资合伙企业(有限合伙)等共同持股。
【TechWeb】12月2日,企查查APP显示,11月30日,粤港澳大湾区科技创新产业投资基金(有限合伙)成立,执行事务合伙人为中湾私募基金管理有限公司,注册资本706万元人民币,经营范围包含:以私募基金从事股权投资、投资管理、资产管理等活动。
企查查股权穿透显示,该公司由比亚迪(002594)、红杉煜晟(厦门)股权投资合伙企业(有限合伙)等共同持股。


股权
合伙
管理
私募
显示
1.TMT观察网遵循行业规范,任何转载的稿件都会明确标注作者和来源;
2.TMT观察网的原创文章,请转载时务必注明文章作者和"来源:TMT观察网",不尊重原创的行为TMT观察网或将追究责任;
3.作者投稿可能会经TMT观察网编辑修改或补充。
