起底女生喝疑似发霉茶致感染涉事公司 疑似发霉茶涉事公司老板名下有多家食品公司观点
据媒体报道,7月7日,有网友在社交平台爆料称,其在东方补者乌梅熬山楂饮品中喝出了绿色叶状异物,身体出现不适,连夜到医院就诊检查,检查报告显示其尿路感染。7日晚,涉事企业发布声明称,已获悉此事,高度重视已启动内部调查程序。
据媒体报道,7月7日,有网友在社交平台爆料称,其在东方补者乌梅熬山楂饮品中喝出了绿色叶状异物,身体出现不适,连夜到医院就诊检查,检查报告显示其尿路感染。7日晚,涉事企业发布声明称,已获悉此事,高度重视已启动内部调查程序。据悉,涉事企业为广东轻上生物科技有限公司,8日上午,上述网友称,就医检查后,医生表示其虽然有细菌感染,但不能确定是否与上述饮品有关。博罗县市场监督管理局工作人员表示,已关注到此事,领导高度重视,正在调查。
天眼查App显示,广东轻上生物科技有限公司成立于2021年6月,法定代表人为周洪涛,注册资本500万人民币,经营范围含食品互联网销售、橡胶制品销售、互联网销售、非居住房地产租赁、普通货物仓储服务、农副产品销售、食品销售等,由周洪涛、钟艳媚共同持股。知识产权信息显示,该公司已注册多枚“东方补者”商标。
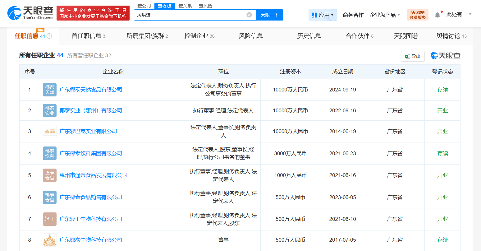
天眼查显示,该公司实控人周洪涛名下关联40余家存续企业,包括广东椰泰天然食品有限公司、惠州市通泰食品发展有限公司、轻上牧场(惠州)食品有限公司、广东椰泰饮料集团有限公司等,周洪涛在上述公司担任法定代表人、财务负责人、执行公司事务的董事等职务。值得注意的是,该公司曾涉及多起诉讼信息,包括劳动争议、服务合同纠纷等。




1.TMT观察网遵循行业规范,任何转载的稿件都会明确标注作者和来源;
2.TMT观察网的原创文章,请转载时务必注明文章作者和"来源:TMT观察网",不尊重原创的行为TMT观察网或将追究责任;
3.作者投稿可能会经TMT观察网编辑修改或补充。
