绿地控股集团等被强执4.1亿观点
观察君
2024-09-02 19:08
导读
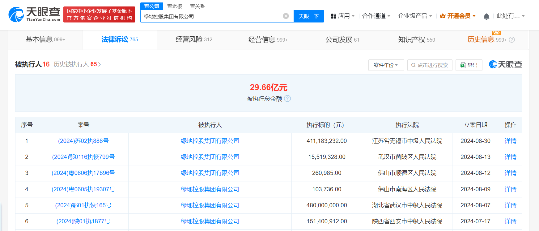
风险信息显示,该公司现存16条被执行人信息,被执行总金额超29亿元,此外还存在多条股权冻结信息。
天眼查法律诉讼信息显示,近日,绿地控股集团有限公司、南京峰晖置业有限公司、绿地集团南京峰创置业有限公司、绿地地产(济南)有限公司等新增一条被执行人信息,执行标的4.11亿余元,涉及民间借贷纠纷案件,执行法院为江苏省无锡市中级人民法院。
绿地控股集团有限公司成立于1992年7月,法定代表人为张玉良,注册资本约226.5亿人民币,由绿地控股(600606)、绿地金创科技集团有限公司共同持股。风险信息显示,该公司现存16条被执行人信息,被执行总金额超29亿元,此外还存在多条股权冻结信息。


绿地控股集团
4.1亿
1.TMT观察网遵循行业规范,任何转载的稿件都会明确标注作者和来源;
2.TMT观察网的原创文章,请转载时务必注明文章作者和"来源:TMT观察网",不尊重原创的行为TMT观察网或将追究责任;
3.作者投稿可能会经TMT观察网编辑修改或补充。
