吴世春被冻结537万股权 吴世春所持537万股权被冻结观点
观察君
2025-09-22 11:49
导读
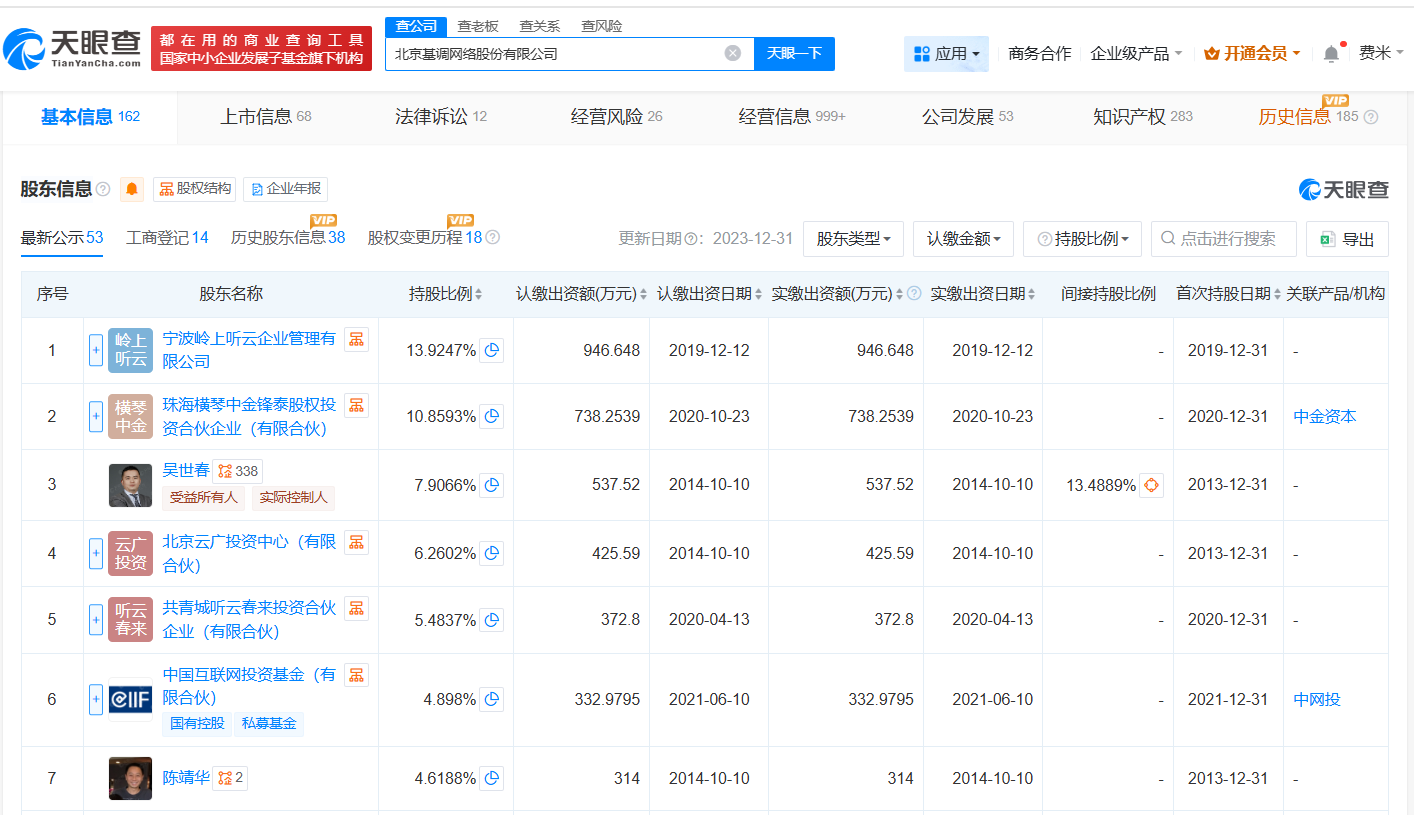
天眼查天眼风险信息显示,近日,北京基调网络股份有限公司新增一则股权冻结信息,被执行人为吴世春,股权所在企业为该公司,冻结股权数额537万余元人民币,冻结期限为3年,执行法院为北京市第三中级人民法院。
天眼查天眼风险信息显示,近日,北京基调网络股份有限公司新增一则股权冻结信息,被执行人为吴世春,股权所在企业为该公司,冻结股权数额537万余元人民币,冻结期限为3年,执行法院为北京市第三中级人民法院。
北京基调网络股份有限公司成立于2007年3月,法定代表人为吴世春,注册资本约6798万人民币,经营范围包括计算机系统服务、软件销售、软件开发等。股东信息显示,该公司由宁波岭上听云企业管理有限公司、珠海横琴中金锋泰股权投资合伙企业(有限合伙)、吴世春等共同持股。



吴世春
1.TMT观察网遵循行业规范,任何转载的稿件都会明确标注作者和来源;
2.TMT观察网的原创文章,请转载时务必注明文章作者和"来源:TMT观察网",不尊重原创的行为TMT观察网或将追究责任;
3.作者投稿可能会经TMT观察网编辑修改或补充。
