乐视体育被吊销执照 乐视体育执照被吊销观点
观察君
2025-04-10 15:11
导读
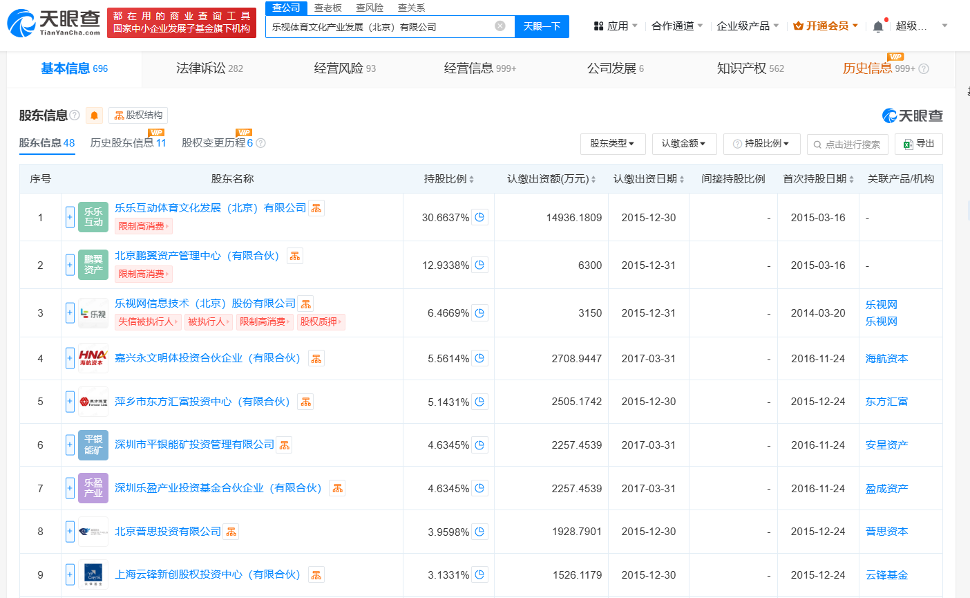
天眼查App显示,近日,乐视体育文化产业发展(北京)有限公司因违反《中华人民共和国公司法》(2023修订)第二百六十条第一款,被北京市海淀区市场监督管理局吊销执照(登记证)。
天眼查App显示,近日,乐视体育文化产业发展(北京)有限公司因违反《中华人民共和国公司法》(2023修订)第二百六十条第一款,被北京市海淀区市场监督管理局吊销执照(登记证)。
乐视体育文化产业发展(北京)有限公司成立于2014年3月,法定代表人为何晓丹,注册资本约4.87亿人民币,经营范围包括从事互联网文化活动、广播电视节目制作、组织文化艺术交流活动等,由乐乐互动体育文化发展(北京)有限公司、乐视网信息技术(北京)股份有限公司、北京普思投资有限公司等共同持股。风险信息显示,该公司2020年、2023年、2024年均被列为经营异常。



乐视体育
1.TMT观察网遵循行业规范,任何转载的稿件都会明确标注作者和来源;
2.TMT观察网的原创文章,请转载时务必注明文章作者和"来源:TMT观察网",不尊重原创的行为TMT观察网或将追究责任;
3.作者投稿可能会经TMT观察网编辑修改或补充。
