斑马智行关联公司增资至约32亿 增幅约13%观点
观察君
2025-08-11 20:22
导读
天眼查App显示,近日,斑马智行关联公司斑马网络技术股份有限公司发生工商变更,注册资本由约28.4亿人民币增至约32亿人民币,增幅约13%。
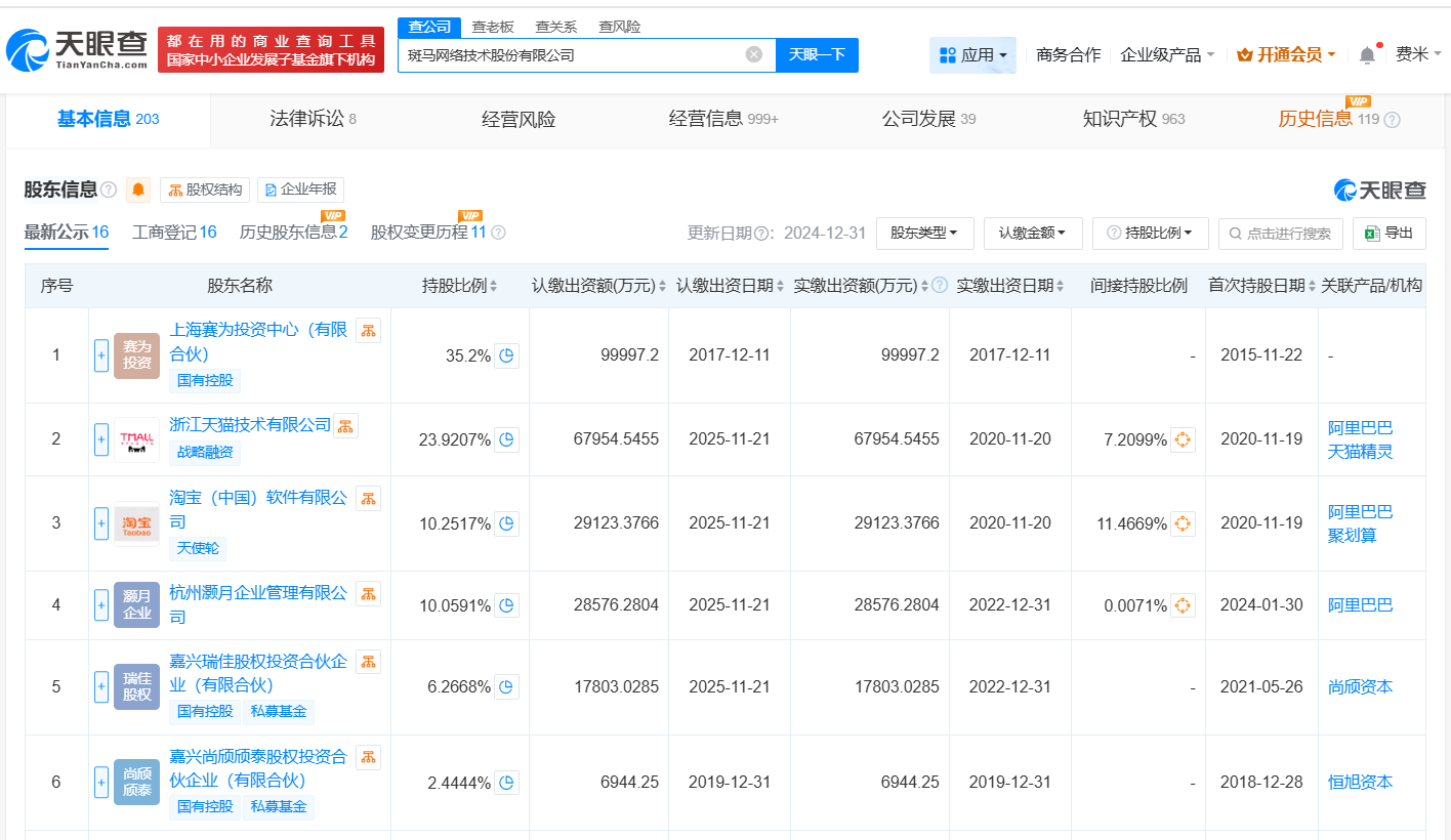
天眼查App显示,近日,斑马智行关联公司斑马网络技术股份有限公司发生工商变更,注册资本由约28.4亿人民币增至约32亿人民币,增幅约13%。
该公司成立于2015年11月,法定代表人为张建锋,经营范围包括计算机网络科技、通信科技、电子科技领域内的技术开发、技术咨询、技术服务、技术转让等。股东信息显示,该公司由上海赛为投资中心(有限合伙)、浙江天猫技术有限公司、淘宝(中国)软件有限公司等共同持股。



斑马智行
1.TMT观察网遵循行业规范,任何转载的稿件都会明确标注作者和来源;
2.TMT观察网的原创文章,请转载时务必注明文章作者和"来源:TMT观察网",不尊重原创的行为TMT观察网或将追究责任;
3.作者投稿可能会经TMT观察网编辑修改或补充。
