中国演出行业协会背后商业版图梳理快讯
【TechWeb】据中国演出行业协会官网信息显示,中国演出行业协会于1988年成立,中国文化产业投资基金管理有限公司总裁陈杭分别以158票、160票。
【TechWeb】据中国演出行业协会官网信息显示,中国演出行业协会于1988年成立,建会之初为中国演出经理家学会,1993年改为中国演出家协会,2012年经民政部批准更名为中国演出行业协会。

企查查APP显示,目前中国演出行业协会法定代表人为朱克宁,注册资本10万元人民币,业务范围含专业交流书刊编辑、业务培训、国际合作咨询服务。对外投资企业共3家,其中存续状态公司共2家,分别为北京南斗文化传媒有限公司、上海中演协音乐剧产业发展有限公司。
据官网显示,目前中国演出行业协会会长为朱克宁,副会长为沙晓岚、陈杭等人。2017年8月,北京锋尚世纪文化传媒股份有限公司董事长沙晓岚,中国文化产业投资基金管理有限公司总裁陈杭分别以158票、160票,成功当选中国演出行业协会副会长。
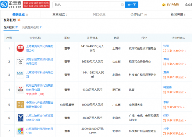
企查查APP显示,陈杭关联企业共23家,其中在业存续企业共19家,业务涉及文化传媒、营销顾问、信息科技等领域。在多家公司任高管职务,包含中国文化产业投资基金管理有限公司董事、杭州金海岸文化发展股份有限公司董事、北京摩登天空文化发展有限公司董事、北京万方数据股份有限公司董事、上海麦克风文化传媒有限公司(蜻蜓FM)等。
其中,中国文化产业投资基金管理有限公司,成立于2010年5月,由中银国际控股有限公司、深圳国际文化产业博览交易会有限公司及中国国际电视总公司共同持股。间接持股企业超350家,系中国文化产业投资基金(有限合伙)合伙人之一,出资比例达2.87%。






杭州金海岸文化发展股份有限公司(证券简称:金海岸;证券代码:834015),成立于2008年,2015年11月10日起在全国股转系统挂牌公开转让,2018年8月1日起终止其股票挂牌,名下有多条失信被执行人、限制高消费、破产重整信息。

1.TMT观察网遵循行业规范,任何转载的稿件都会明确标注作者和来源;
2.TMT观察网的原创文章,请转载时务必注明文章作者和"来源:TMT观察网",不尊重原创的行为TMT观察网或将追究责任;
3.作者投稿可能会经TMT观察网编辑修改或补充。
