恋与深空运营方因服务合同纠纷被诉 恋与深空官方已注册多枚秦彻商标观点
观察君
2025-01-09 11:06
导读
近日,有超2000名玩家在黑猫投诉平台上集体投诉称恋与深空涉嫌欺诈消费者一事。玩家称,秦彻作为该游戏男主之一,大量抽卡数据显示其抽卡爆率远低于其他男主。玩家认为,游戏官方有诱导强制消费之嫌,并造成经济损失。目前恋与深空官方尚未作出回应。
近日,有超2000名玩家在黑猫投诉平台上集体投诉称恋与深空涉嫌欺诈消费者一事。玩家称,秦彻作为该游戏男主之一,大量抽卡数据显示其抽卡爆率远低于其他男主。玩家认为,游戏官方有诱导强制消费之嫌,并造成经济损失。目前恋与深空官方尚未作出回应。
天眼查App显示,恋与深空运营方上海叠纸互娱网络科技有限公司成立于2021年5月,法定代表人为刘辰西,注册资本1000万人民币,经营范围含网络科技、计算机科技、通讯科技、动漫游戏开发,专业设计服务等。股东信息显示,该公司由上海叠纸科技有限公司全资持股。风险信息显示,去年11月,该公司因服务合同纠纷被自然人起诉。
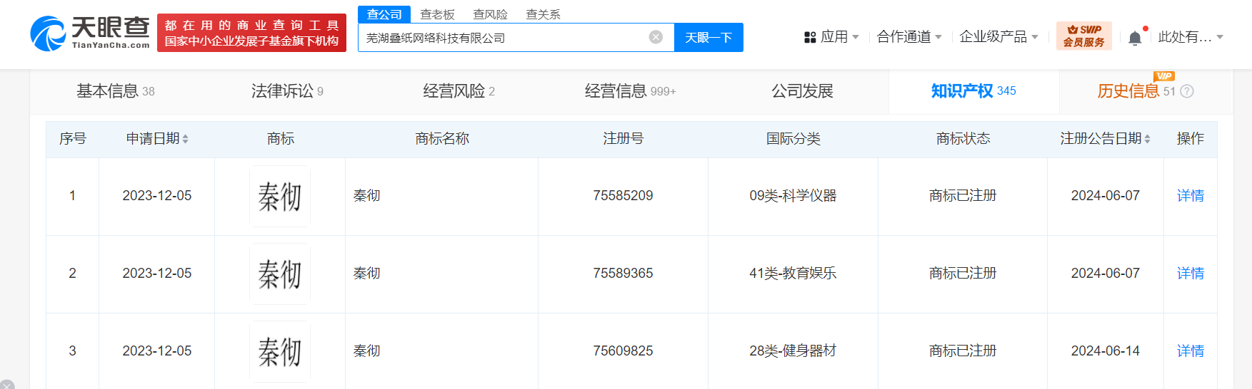
知识产权信息显示,《恋与深空》出品方芜湖叠纸网络科技有限公司已于2023年12月申请3枚“秦彻”商标,国际分类为科学仪器、教育娱乐、健身器材,目前上述商标均已成功注册。



恋与深空
1.TMT观察网遵循行业规范,任何转载的稿件都会明确标注作者和来源;
2.TMT观察网的原创文章,请转载时务必注明文章作者和"来源:TMT观察网",不尊重原创的行为TMT观察网或将追究责任;
3.作者投稿可能会经TMT观察网编辑修改或补充。
