薇娅名下多家企业近期注销 薇娅名下十余家企业已注销观点
观察君
2025-02-15 09:43
导读
近日,黄薇(薇娅)名下上海巴蔚企业管理咨询中心、上海达颀企业管理咨询中心、上海蔚贺企业管理咨询中心等企业的登记状态由存续变更为注销,此外,云南娅致电子商务有限公司近日也新增一则简易注销公告,公告期自2025年1月23日至2025年2月12日。
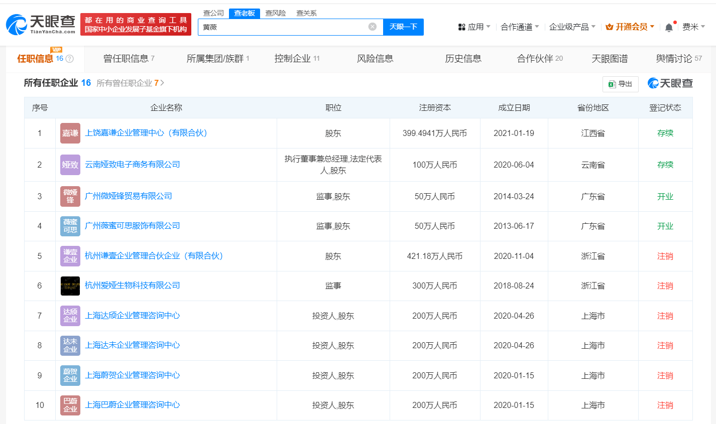
天眼查App显示,近日,黄薇(薇娅)名下上海巴蔚企业管理咨询中心、上海达颀企业管理咨询中心、上海蔚贺企业管理咨询中心等企业的登记状态由存续变更为注销,此外,云南娅致电子商务有限公司近日也新增一则简易注销公告,公告期自2025年1月23日至2025年2月12日。
值得一提的是,黄薇名下共关联16家企业,其中处于存续状态的仅有4家,包括上饶嘉谦企业管理中心(有限合伙)、广州微娅锋贸易有限公司等,其余12家企业均已注销。




薇娅
1.TMT观察网遵循行业规范,任何转载的稿件都会明确标注作者和来源;
2.TMT观察网的原创文章,请转载时务必注明文章作者和"来源:TMT观察网",不尊重原创的行为TMT观察网或将追究责任;
3.作者投稿可能会经TMT观察网编辑修改或补充。
