京东已注册多枚京东汽车商标 京东汽车商标已成功注册观点
观察君
2025-10-14 23:17
导读
据媒体报道,2025京东11.11期间,京东将联合广汽、宁德时代推出一款“国民好车”。据介绍,该款新车将在10月底陆续开启内测版、大众版试驾活动,并于11月9日正式官宣发布。
据媒体报道,2025京东11.11期间,京东将联合广汽、宁德时代推出一款“国民好车”。据介绍,该款新车将在10月底陆续开启内测版、大众版试驾活动,并于11月9日正式官宣发布。
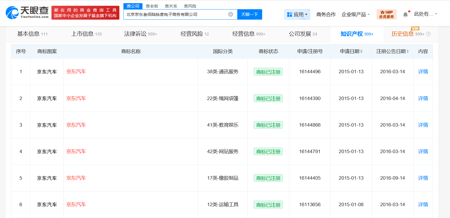
天眼查App显示,北京京东叁佰陆拾度电子商务有限公司已申请注册多枚“京东汽车”“京东汽车 JD AUTO”“京东汽车 CAR.JD.COM”商标,国际分类为运输工具、科学仪器、广告销售等,当前部分商标已注册成功。



京东汽车
1.TMT观察网遵循行业规范,任何转载的稿件都会明确标注作者和来源;
2.TMT观察网的原创文章,请转载时务必注明文章作者和"来源:TMT观察网",不尊重原创的行为TMT观察网或将追究责任;
3.作者投稿可能会经TMT观察网编辑修改或补充。
