字节跳动申请注册抖音AI版商标 字节跳动申请注册抖音Air商标观点
观察君
2025-05-20 23:50
导读
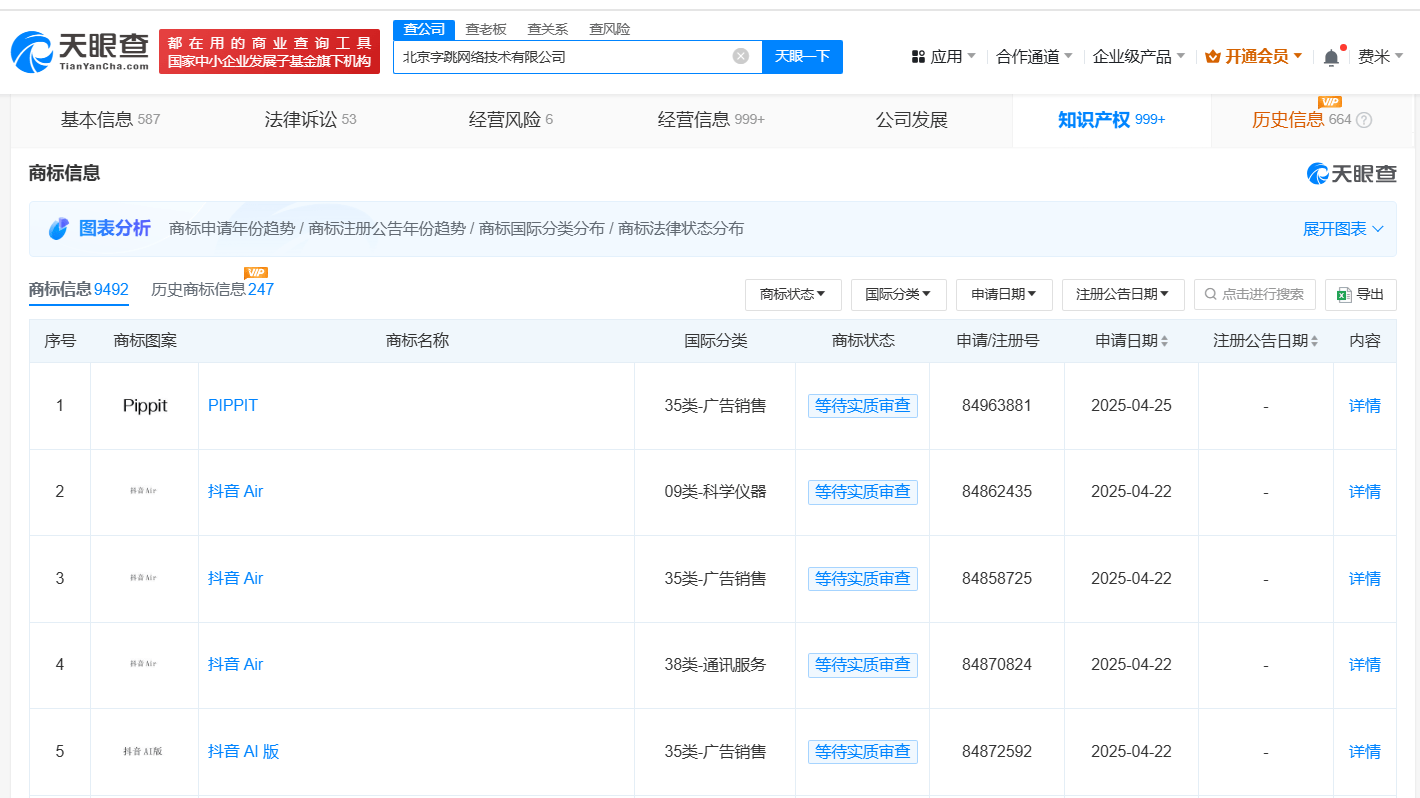
近日,北京字跳网络技术有限公司申请注册多枚“抖音AI版”“抖音Air”商标,国际分类包括科学仪器、广告销售、通讯服务等,当前商标状态均为等待实质审查。
天眼查知识产权信息显示,近日,北京字跳网络技术有限公司申请注册多枚“抖音AI版”“抖音Air”商标,国际分类包括科学仪器、广告销售、通讯服务等,当前商标状态均为等待实质审查。
该公司成立于2018年10月,法定代表人为水恒熠,注册资本1亿美元,经营范围包括会议服务、企业策划、组织文化艺术交流活动、版权代理、版权贸易、文艺创作等,由抖音集团(香港)有限公司全资持股。



字节跳动
1.TMT观察网遵循行业规范,任何转载的稿件都会明确标注作者和来源;
2.TMT观察网的原创文章,请转载时务必注明文章作者和"来源:TMT观察网",不尊重原创的行为TMT观察网或将追究责任;
3.作者投稿可能会经TMT观察网编辑修改或补充。
