雷军名下公司五年前入股宇树 顺为资本五年前已入股宇树观点
观察君
2026-03-21 18:30
导读
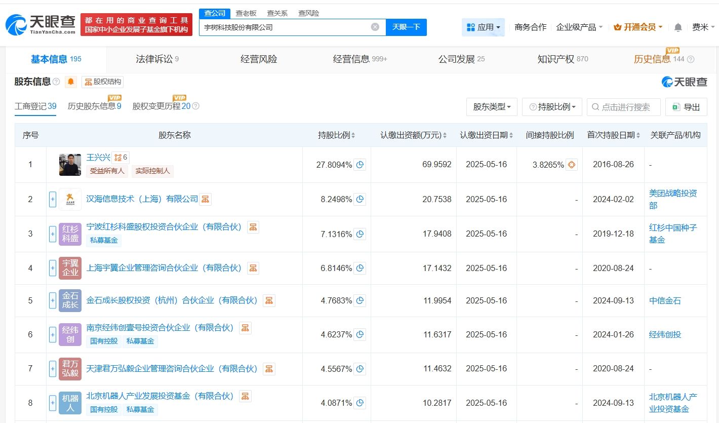
天眼查App显示,宇树科技股份有限公司成立于2016年8月,法定代表人为王兴兴,注册资本约3.64亿人民币,经营范围包括智能机器人的研发、工业机器人制造、服务消费机器人制造等。
天眼查App显示,宇树科技股份有限公司成立于2016年8月,法定代表人为王兴兴,注册资本约3.64亿人民币,经营范围包括智能机器人的研发、工业机器人制造、服务消费机器人制造等。股东信息显示,该公司由王兴兴、美团旗下汉海信息技术(上海)有限公司、雷军名下顺为资本关联公司Astrend IV (Hong Kong) Alpha Limited等共同持股。



顺为资本
宇树
1.TMT观察网遵循行业规范,任何转载的稿件都会明确标注作者和来源;
2.TMT观察网的原创文章,请转载时务必注明文章作者和"来源:TMT观察网",不尊重原创的行为TMT观察网或将追究责任;
3.作者投稿可能会经TMT观察网编辑修改或补充。
