碧桂园地产集团等被执行3.3亿观点
观察君
2025-07-18 16:41
导读
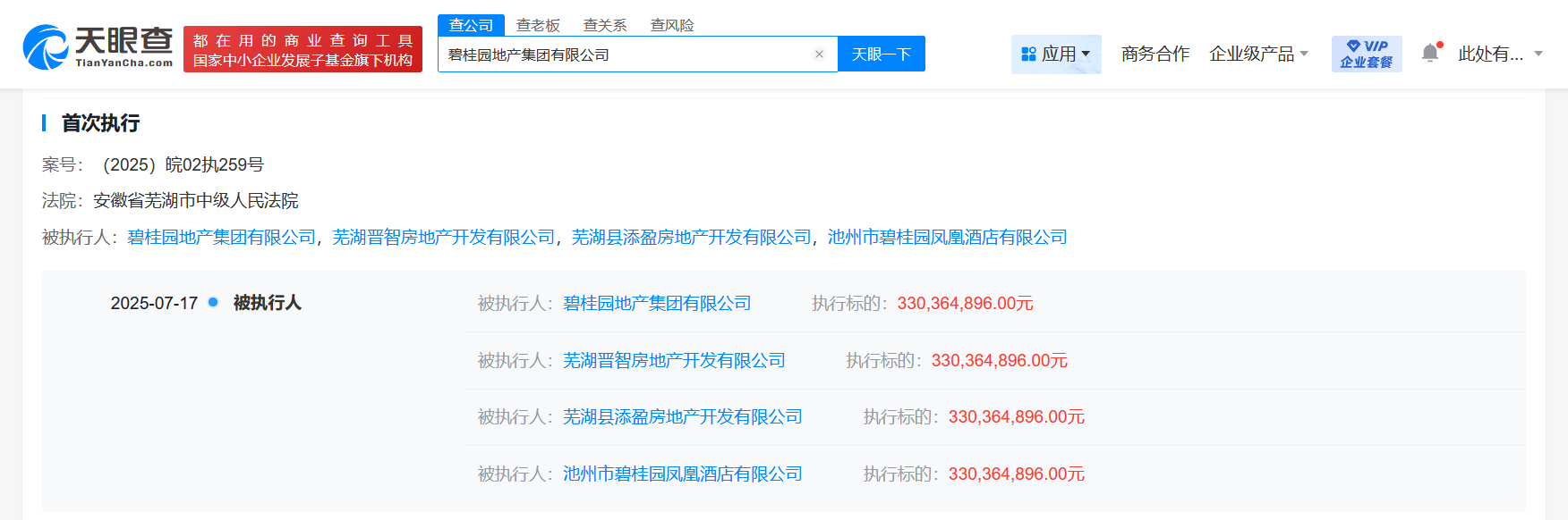
天眼查法律诉讼信息显示,近日,碧桂园地产集团有限公司、芜湖晋智房地产开发有限公司、芜湖县添盈房地产开发有限公司、池州市碧桂园凤凰酒店有限公司新增一条被执行人信息,执行标的3.3亿余元,执行法院为安徽省芜湖市中级人民法院。
天眼查法律诉讼信息显示,近日,碧桂园地产集团有限公司、芜湖晋智房地产开发有限公司、芜湖县添盈房地产开发有限公司、池州市碧桂园凤凰酒店有限公司新增一条被执行人信息,执行标的3.3亿余元,执行法院为安徽省芜湖市中级人民法院。
碧桂园地产集团有限公司成立于2015年4月,法定代表人为简暖棠,注册资本约153.2亿人民币,由佛山市顺德区宙华投资咨询有限公司、深圳市碧桂科技发展有限公司共同持股。风险信息显示,该公司现存50余条被执行人信息,被执行总金额超65亿元,此外,该公司还存在多条限制消费令、失信被执行人(老赖)及终本案件信息。



碧桂园
1.TMT观察网遵循行业规范,任何转载的稿件都会明确标注作者和来源;
2.TMT观察网的原创文章,请转载时务必注明文章作者和"来源:TMT观察网",不尊重原创的行为TMT观察网或将追究责任;
3.作者投稿可能会经TMT观察网编辑修改或补充。
