四川能源投资集团增资至250.3亿 四川能源投资集团近期增资超150亿观点
观察君
2025-01-09 15:38
导读
近日,四川省能源投资集团有限责任公司发生工商变更,注册资本由约178.5亿人民币增至约250.3亿人民币,增幅约40%,值得一提的是,近日,该公司刚刚发生工商变更,注册资本由98.9亿人民币增至约178.5亿人民币。
天眼查App显示,近日,四川省能源投资集团有限责任公司发生工商变更,注册资本由约178.5亿人民币增至约250.3亿人民币,增幅约40%,值得一提的是,近日,该公司刚刚发生工商变更,注册资本由98.9亿人民币增至约178.5亿人民币。
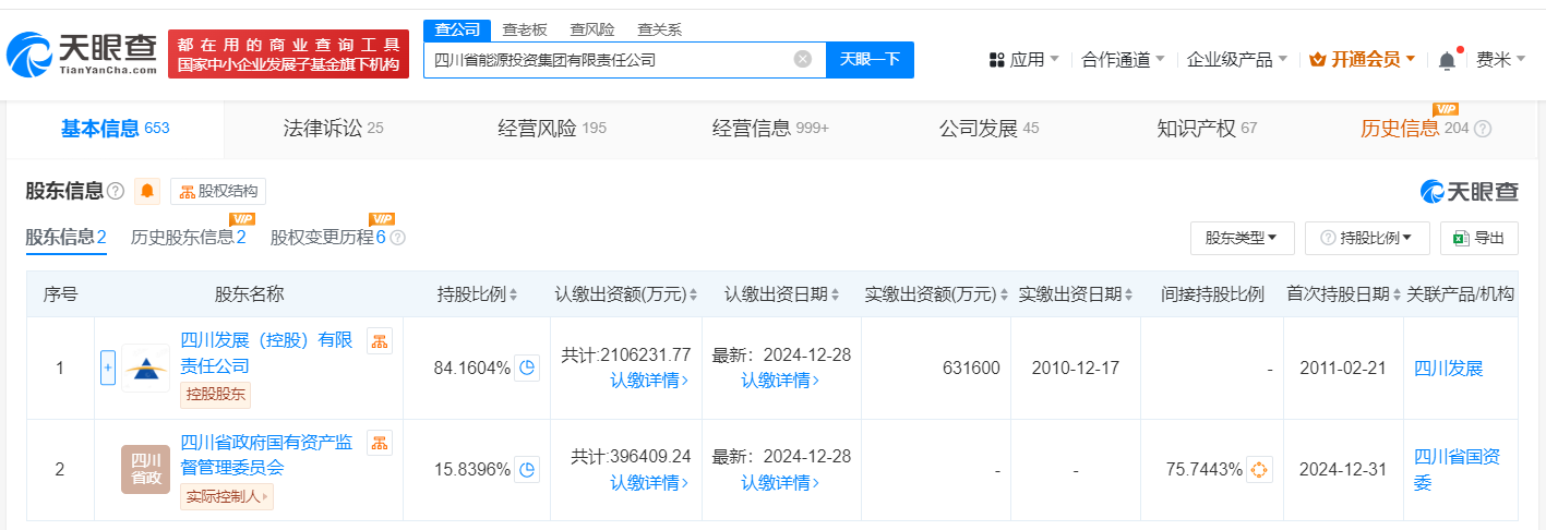
四川省能源投资集团有限责任公司成立于2011年2月,法定代表人为王诚,经营范围为能源项目的投资与管理,由四川发展(控股)有限责任公司、四川省政府国有资产监督管理委员会共同持股。



四川能源投资集团
1.TMT观察网遵循行业规范,任何转载的稿件都会明确标注作者和来源;
2.TMT观察网的原创文章,请转载时务必注明文章作者和"来源:TMT观察网",不尊重原创的行为TMT观察网或将追究责任;
3.作者投稿可能会经TMT观察网编辑修改或补充。
