揭秘释永信名下关联企业 释永信商业版图盘点观点
观察君
2025-07-28 10:36
导读
据媒体报道,7月27日晚,少林寺官网发布关于少林寺住持释永信的情况通报称,少林寺住持释永信涉嫌刑事犯罪,挪用侵占项目资金寺院资产;严重违反佛教戒律,长期与多名女性保持不正当关系并育有私生子。目前正在接受多部门联合调查。有关情况将及时向社会公布。
据媒体报道,7月27日晚,少林寺官网发布关于少林寺住持释永信的情况通报称,少林寺住持释永信涉嫌刑事犯罪,挪用侵占项目资金寺院资产;严重违反佛教戒律,长期与多名女性保持不正当关系并育有私生子。目前正在接受多部门联合调查。有关情况将及时向社会公布。
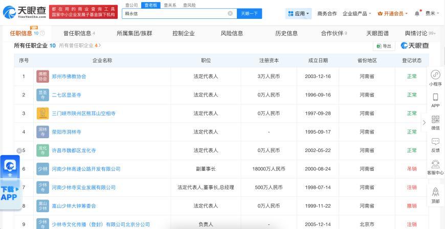
天眼查App显示,释永信名下关联10家企业,其中5家处于存续状态,包括郑州市佛教协会、二七区显圣寺、三门峡市陕州区熊耳山空相寺等,释永信在上述企业担任法定代表人职务,其余5家企业已注销、吊销或撤销。
值得一提的是,2022年4月,释永信退出河南少林无形资产管理有限公司,退出前持股比例为80%。
此外,中国嵩山少林寺成立于1995年9月,法定代表人为释永信,控制企业信息显示,中国嵩山少林寺控制15家企业,其中11家企业已注销。





释永信
1.TMT观察网遵循行业规范,任何转载的稿件都会明确标注作者和来源;
2.TMT观察网的原创文章,请转载时务必注明文章作者和"来源:TMT观察网",不尊重原创的行为TMT观察网或将追究责任;
3.作者投稿可能会经TMT观察网编辑修改或补充。
