奇瑞汽车申请智界智行商标 奇瑞汽车申请智界智能商标观点
观察君
2025-01-06 15:55
导读
公开资料显示,智界是华为与奇瑞推出的品牌系列,该品牌系列已推出智界S7、R7、S7改款车型。在2024年的华为鸿蒙生态春季沟通会上,奇瑞董事长尹同跃称,奇瑞为智界S7提供了世界上最先进的汽车产线。
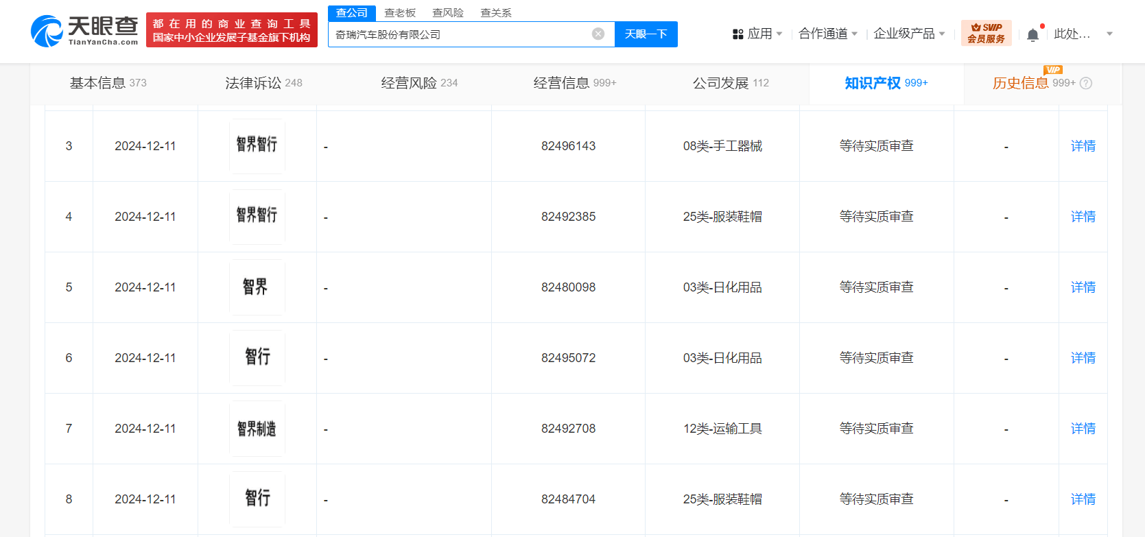
天眼查知识产权信息显示,近日,奇瑞汽车股份有限公司申请注册多枚“智界智行”“智行”“智界智能”“智界智研”商标,国际分类包含运输工具、服装鞋帽、手工器械等,当前商标状态均为等待实质审查。值得一提的是,近期,奇瑞汽车公司已申请注册“智界智造”商标。
公开资料显示,智界是华为与奇瑞推出的品牌系列,该品牌系列已推出智界S7、R7、S7改款车型。在2024年的华为鸿蒙生态春季沟通会上,奇瑞董事长尹同跃称,奇瑞为智界S7提供了世界上最先进的汽车产线。


奇瑞汽车
1.TMT观察网遵循行业规范,任何转载的稿件都会明确标注作者和来源;
2.TMT观察网的原创文章,请转载时务必注明文章作者和"来源:TMT观察网",不尊重原创的行为TMT观察网或将追究责任;
3.作者投稿可能会经TMT观察网编辑修改或补充。
