北汽集团申请注册星帷智驾商标 北汽集团申请注册元境智瞳商标观点
观察君
2025-05-08 15:35
导读
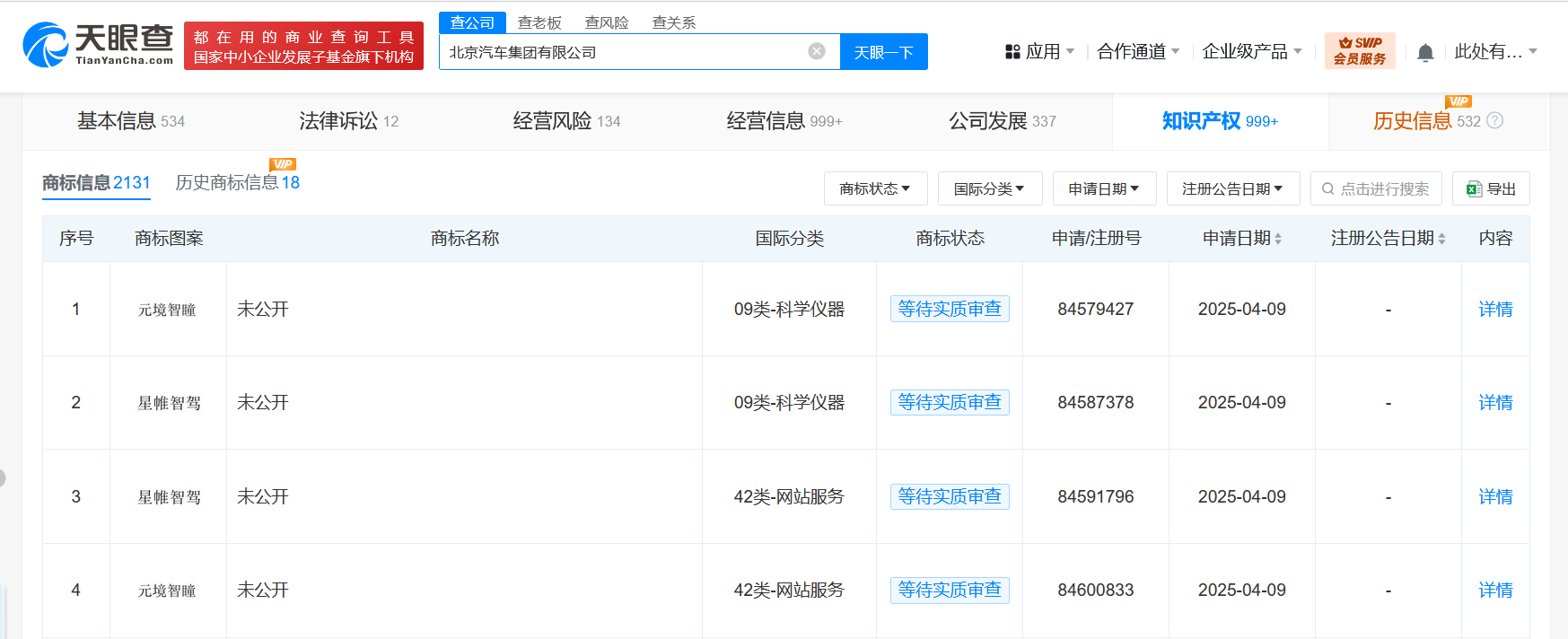
天眼查财产线索信息显示,近日,北京汽车集团有限公司申请注册两枚“星帷智驾”“元境智瞳”商标,国际分类为网站服务、科学仪器,当前商标状态均为等待实质审查。
天眼查财产线索信息显示,近日,北京汽车集团有限公司申请注册两枚“星帷智驾”“元境智瞳”商标,国际分类为网站服务、科学仪器,当前商标状态均为等待实质审查。
北京汽车集团有限公司成立于1994年6月,法定代表人为张建勇,注册资本约199.57亿人民币,由北京国有资本运营管理有限公司全资持股。


北汽集团
1.TMT观察网遵循行业规范,任何转载的稿件都会明确标注作者和来源;
2.TMT观察网的原创文章,请转载时务必注明文章作者和"来源:TMT观察网",不尊重原创的行为TMT观察网或将追究责任;
3.作者投稿可能会经TMT观察网编辑修改或补充。
