泛海控股及卢志强等被强执37亿观点
观察君
2024-09-26 15:01
导读
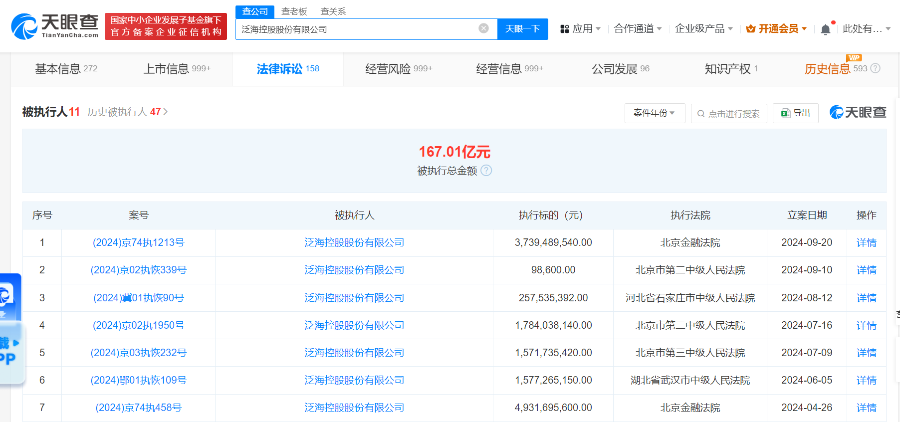
天眼风险信息显示,泛海控股股份有限公司现存11条被执行人信息,被执行总金额超167亿元。此外,该公司还存在多条股权冻结信息。
天眼查法律诉讼信息显示,近日,泛海控股股份有限公司、武汉中央商务区股份有限公司、卢志强新增一条被执行人信息,执行标的37.39亿余元,执行法院为北京金融法院。
天眼风险信息显示,泛海控股股份有限公司现存11条被执行人信息,被执行总金额超167亿元。此外,该公司还存在多条股权冻结信息。


泛海控股
卢志强
1.TMT观察网遵循行业规范,任何转载的稿件都会明确标注作者和来源;
2.TMT观察网的原创文章,请转载时务必注明文章作者和"来源:TMT观察网",不尊重原创的行为TMT观察网或将追究责任;
3.作者投稿可能会经TMT观察网编辑修改或补充。
