黑神话悟空公司登记商标系列著作权 出品方登记黑神话商标系列著作权观点
观察君
2024-12-18 16:39
导读
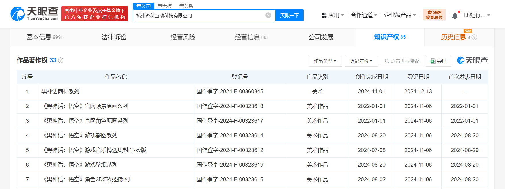
天眼查知识产权信息显示,近日,游戏科学旗下杭州游科互动科技有限公司登记“黑神话商标系列”美术著作权。值得一提的是,该公司此前已登记“《黑神话:悟空》官网场景原画系列”“《黑神话:悟空》游戏截图系列”“《黑神话:悟空》国画系列”等多个美术作品著作权。
天眼查知识产权信息显示,近日,游戏科学旗下杭州游科互动科技有限公司登记“黑神话商标系列”美术著作权。值得一提的是,该公司此前已登记“《黑神话:悟空》官网场景原画系列”“《黑神话:悟空》游戏截图系列”“《黑神话:悟空》国画系列”等多个美术作品著作权。
杭州游科互动科技有限公司成立于2018年10月,法定代表人、董事长、经理为冯骥,注册资本2000万人民币,由深圳市游科互动科技有限公司全资持股。



黑神话悟空公司
1.TMT观察网遵循行业规范,任何转载的稿件都会明确标注作者和来源;
2.TMT观察网的原创文章,请转载时务必注明文章作者和"来源:TMT观察网",不尊重原创的行为TMT观察网或将追究责任;
3.作者投稿可能会经TMT观察网编辑修改或补充。
