姚振华及宝能等被恢复执行5.3亿观点
观察君
2024-12-10 10:37
导读
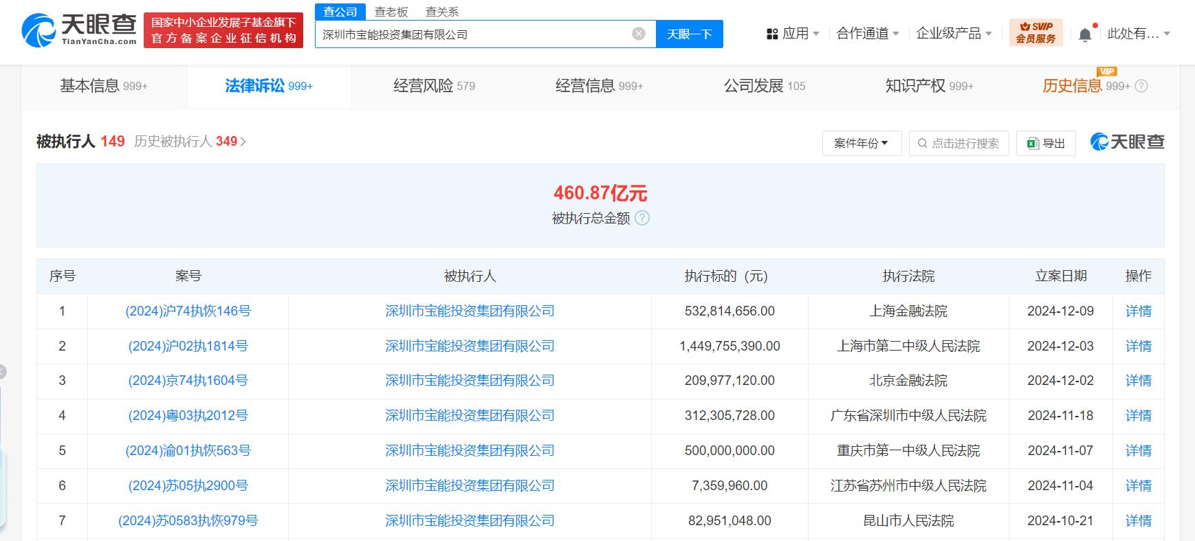
天眼查法律诉讼信息显示,近日,深圳市宝能投资集团有限公司、宝能汽车集团有限公司、宝能地产股份有限公司、姚振华等新增一条恢复执行信息,执行标的5.32亿余元,涉及金融借款合同纠纷案件,执行法院为上海金融法院。
天眼查法律诉讼信息显示,近日,深圳市宝能投资集团有限公司、宝能汽车集团有限公司、宝能地产股份有限公司、姚振华等新增一条恢复执行信息,执行标的5.32亿余元,涉及金融借款合同纠纷案件,执行法院为上海金融法院。
天眼风险信息显示,深圳市宝能投资集团有限公司现存140余条被执行人信息,被执行总金额超460亿元。此外,该公司还存在多条限制消费令、失信被执行人(老赖)和终本案件信息。


姚振华
宝能
1.TMT观察网遵循行业规范,任何转载的稿件都会明确标注作者和来源;
2.TMT观察网的原创文章,请转载时务必注明文章作者和"来源:TMT观察网",不尊重原创的行为TMT观察网或将追究责任;
3.作者投稿可能会经TMT观察网编辑修改或补充。
