北京无印良品再因商标纠纷被执行15万元快讯
TechWeb.com.cn
2021-12-20 16:24
导读
企查查信息显示,企查查APP显示,其关联案件案由多为侵害商标权纠纷。
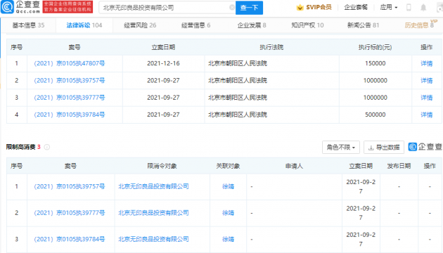
【TechWeb】12月20日,企查查APP显示,12月16日,北京无印良品投资有限公司新增被执行人信息,案号为(2021)京0105执47807号,执行法院为北京市朝阳区人民法院,执行标的为15万元,关联案件案由为侵害商标权纠纷。
企查查信息显示,目前该公司已存在4条被执行人信息及3条限制消费令,被执行总金额265万元,其关联案件案由多为侵害商标权纠纷。


执行
信息
显示
查查
关联
1.TMT观察网遵循行业规范,任何转载的稿件都会明确标注作者和来源;
2.TMT观察网的原创文章,请转载时务必注明文章作者和"来源:TMT观察网",不尊重原创的行为TMT观察网或将追究责任;
3.作者投稿可能会经TMT观察网编辑修改或补充。
