中赫集团、国安俱乐部及周金辉等被恢复执行36.8亿观点
观察君
2025-06-18 18:35
导读
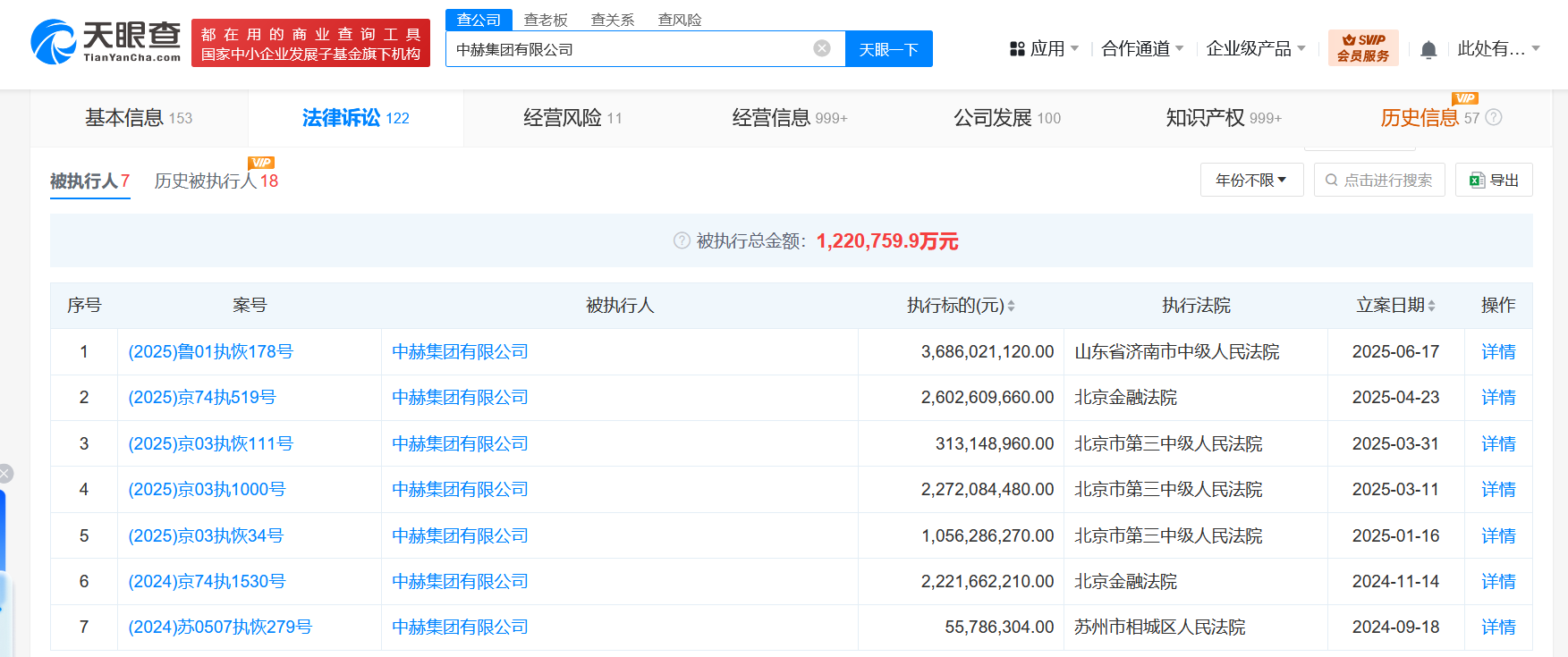
天眼查法律诉讼信息显示,近日,中赫集团有限公司、北京国安足球俱乐部有限责任公司、周金辉等新增一则恢复执行信息,执行标的36.8亿余元,涉及借款合同纠纷案件,执行法院为山东省济南市中级人民法院。
天眼查法律诉讼信息显示,近日,中赫集团有限公司、北京国安足球俱乐部有限责任公司、周金辉等新增一则恢复执行信息,执行标的36.8亿余元,涉及借款合同纠纷案件,执行法院为山东省济南市中级人民法院。
中赫集团有限公司成立于2005年9月,法定代表人为周金辉,注册资本1.17亿人民币,经营范围含矿业投资、房地产投资、资产管理、矿业投资管理、房地产投资管理、体育运动项目经营等,由周金辉、李彩霞共同持股。风险信息显示,该公司现存7条被执行人信息,被执行总金额超122亿元,此外,该公司还存在多条限制消费令、失信被执行人(老赖)及终本案件信息。



中赫集团
国安俱乐部
1.TMT观察网遵循行业规范,任何转载的稿件都会明确标注作者和来源;
2.TMT观察网的原创文章,请转载时务必注明文章作者和"来源:TMT观察网",不尊重原创的行为TMT观察网或将追究责任;
3.作者投稿可能会经TMT观察网编辑修改或补充。
