南京江北新区科技投资集团增资至31.1亿 增幅约8.2%观点
观察君
2026-04-17 14:39
导读
天眼查App显示,近日,南京江北新区科技投资集团有限公司发生工商变更,注册资本由约28.7亿增至约31.1亿,增幅约8%。同时,新增南京扬紫二期企业管理合伙企业(有限合伙)为股东。
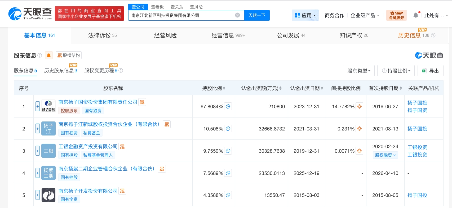
天眼查App显示,近日,南京江北新区科技投资集团有限公司发生工商变更,注册资本由约28.7亿增至约31.1亿,增幅约8%。同时,新增南京扬紫二期企业管理合伙企业(有限合伙)为股东。
南京江北新区科技投资集团有限公司成立于2012年7月,法定代表人为高亮,经营范围含技术咨询及售后服务、科学技术成果转让、技术研发机构办公用房的出租及物业管理等。股东信息显示,该公司现由南京扬子国资投资集团有限责任公司、南京扬子江新城股权投资合伙企业(有限合伙)、工银金融资产投资有限公司及上述新增股东等共同持股。



南京江北新区科技投资集团
1.TMT观察网遵循行业规范,任何转载的稿件都会明确标注作者和来源;
2.TMT观察网的原创文章,请转载时务必注明文章作者和"来源:TMT观察网",不尊重原创的行为TMT观察网或将追究责任;
3.作者投稿可能会经TMT观察网编辑修改或补充。
