苏州信托公司增资至30亿 增幅150%观点
观察君
2025-11-20 11:52
导读
天眼查工商信息显示,近日,苏州信托有限公司发生工商变更,注册资本由12亿人民币增至30亿人民币,增幅150%。
天眼查工商信息显示,近日,苏州信托有限公司发生工商变更,注册资本由12亿人民币增至30亿人民币,增幅150%。
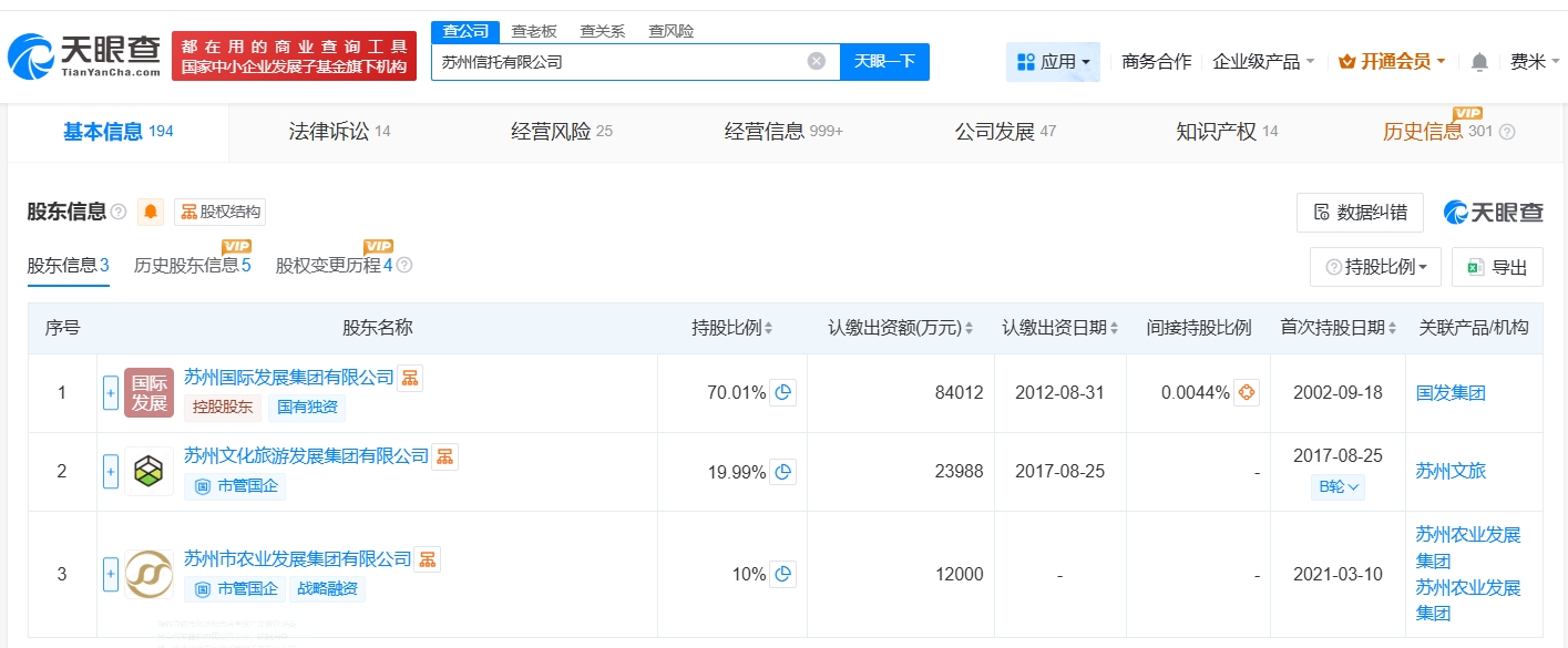
该公司成立于2002年9月,法定代表人为沈光俊,经营范围包括资金信托、动产信托、不动产信托、有价证券信托等业务。股东信息显示,该公司由苏州国际发展集团有限公司、苏州文化旅游发展集团有限公司、苏州市农业发展集团有限公司共同持股。



苏州信托公司
1.TMT观察网遵循行业规范,任何转载的稿件都会明确标注作者和来源;
2.TMT观察网的原创文章,请转载时务必注明文章作者和"来源:TMT观察网",不尊重原创的行为TMT观察网或将追究责任;
3.作者投稿可能会经TMT观察网编辑修改或补充。
