腾讯申请脱口秀和TA的朋友们商标 腾讯申请朋友们和TA的脱口秀商标观点
观察君
2024-08-09 17:50
导读
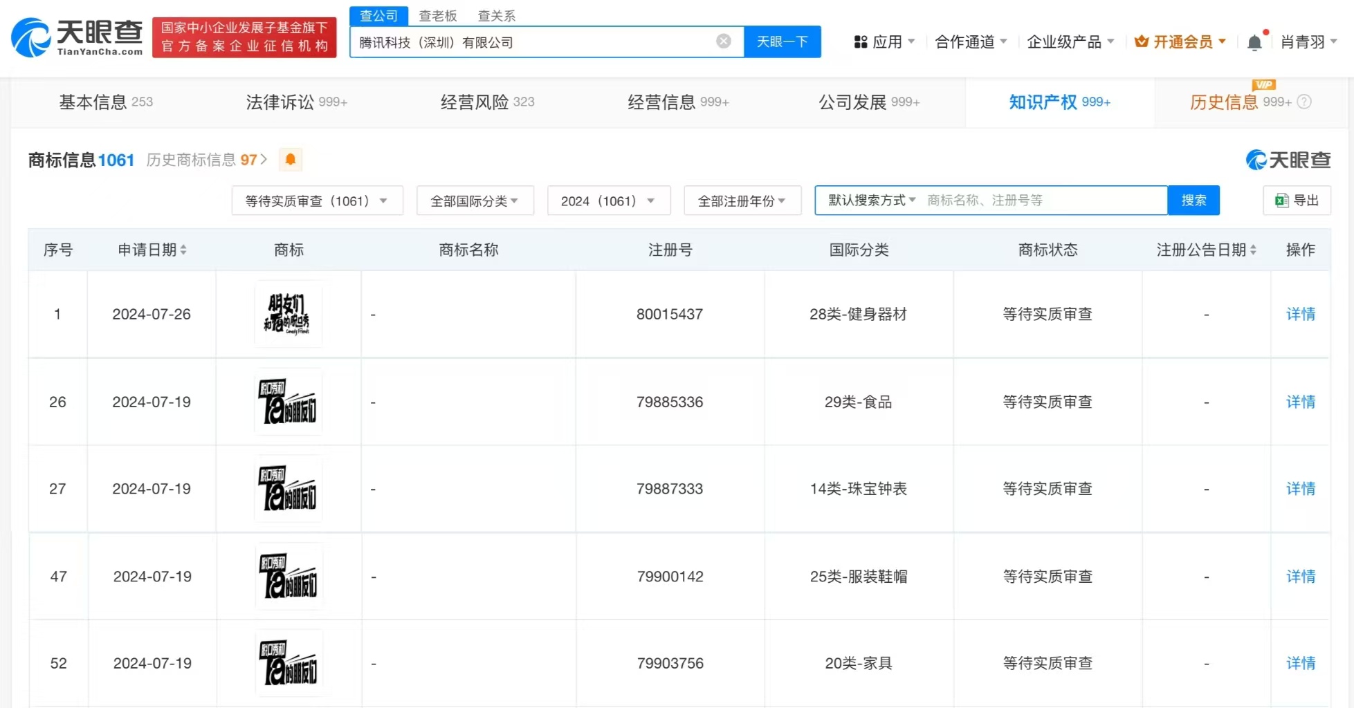
近日,腾讯科技(深圳)有限公司申请注册多枚“脱口秀和TA的朋友们”“朋友们和TA的脱口秀”商标,国际分类为健身器材、食品、珠宝钟表等,当前商标状态均为等待实质审查。
天眼查知识产权信息显示,近日,腾讯科技(深圳)有限公司申请注册多枚“脱口秀和TA的朋友们”“朋友们和TA的脱口秀”商标,国际分类为健身器材、食品、珠宝钟表等,当前商标状态均为等待实质审查。
据悉,《脱口秀和TA的朋友们》是腾讯视频即将播出的综艺节目,“笑友团”嘉宾包括张雨绮、鲁豫、大张伟、窦文涛、张绍刚。

腾讯
脱口秀
1.TMT观察网遵循行业规范,任何转载的稿件都会明确标注作者和来源;
2.TMT观察网的原创文章,请转载时务必注明文章作者和"来源:TMT观察网",不尊重原创的行为TMT观察网或将追究责任;
3.作者投稿可能会经TMT观察网编辑修改或补充。
