天眼查数据:哈啰租电动车多家分支机构已注销观点
观察君
2026-03-15 23:51
导读
央视315晚会曝光狂飙的租赁电动自行车,上海钧哈网络科技有限公司、上海钧丰网络科技有限公司被点名。
央视315晚会曝光狂飙的租赁电动自行车,上海钧哈网络科技有限公司、上海钧丰网络科技有限公司被点名。
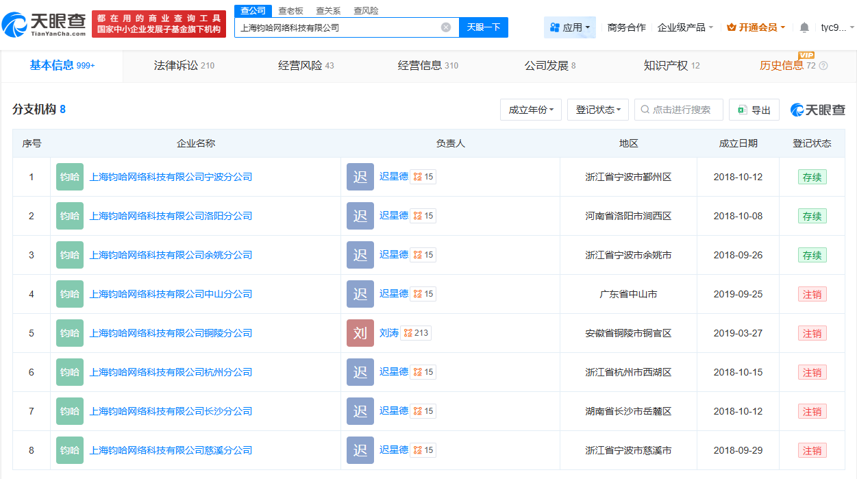
天眼查App显示,“哈啰租电动车”关联公司上海钧哈网络科技有限公司成立于2018年8月,法定代表人为迟星德,注册资本20.5亿人民币,经营范围包括机械设备、自行车、电动自行车、汽车、电动摩托车的租赁等,由哈啰出行关联公司上海钧丰网络科技有限公司全资持股。分支机构信息显示,该公司现存8家分公司,其中5家已注销。行政处罚信息显示,该公司现存多条行政处罚信息,处罚事由包括以不合格产品冒充合格产品等,处罚单位包括上海市闵行区市场监督管理局、上海市浦东新区三林镇人民政府等。





电动车
1.TMT观察网遵循行业规范,任何转载的稿件都会明确标注作者和来源;
2.TMT观察网的原创文章,请转载时务必注明文章作者和"来源:TMT观察网",不尊重原创的行为TMT观察网或将追究责任;
3.作者投稿可能会经TMT观察网编辑修改或补充。
