三星电子不满足三折叠,四折叠手机专利曝光快讯
三星新获得的专利详细描述了一款四折叠手机的设计,三星正积极投身于四折叠手机设计方案的研究,还没有任何关于三星推出四折叠手机的具体爆料。
【TechWeb】有消息称,三星电子预计会在今年下半年推出旗下首款三折叠手机。而更令人关注的是,最新曝光的专利显示,三星正积极投身于四折叠手机设计方案的研究。
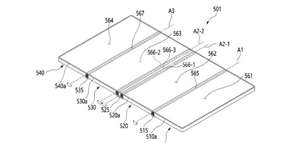
三星新获得的专利详细描述了一款四折叠手机的设计。它通过整合三个铰链,形成三个折叠区域。这种独特设计的亮点在于,它不仅支持多种使用形态,还能很好地适配不同的应用场景。
想象一下,用户既可以将手机完全展开,此时它就变成了一个尺寸更大的平板,能带来更广阔的屏幕视野;也可以选择部分展开,让屏幕达到类似苹果iPad的4:3比例,非常适合阅读书籍或者观看视频。而且从理论上来说,用户还能在不同屏幕上同时运行多个应用程序,大大提升了多任务操作的体验。
然而,这种复杂的折叠设计并非十全十美。它可能会让手机整体重量增加,折叠后的机身厚度也可能偏大,这无疑会对用户的便携性和使用体验产生不利影响。
为了克服这些难题,三星采取了针对性的措施。它特别强化了每个铰链的内部结构,这样做既能减少手机在折叠和展开过程中的损耗,又能尽可能降低屏幕折痕出现的概率。
需要注意的是,截至目前,还没有任何关于三星推出四折叠手机的具体爆料。就像其他专利一样,拥有专利并不意味着厂商最终一定会将其转化为量产产品。不过,三星未来仍有很大可能会把专利中探索的部分技术,应用到其他实际的折叠手机当中。
1.TMT观察网遵循行业规范,任何转载的稿件都会明确标注作者和来源;
2.TMT观察网的原创文章,请转载时务必注明文章作者和"来源:TMT观察网",不尊重原创的行为TMT观察网或将追究责任;
3.作者投稿可能会经TMT观察网编辑修改或补充。
