姚振华及宝能集团等被恢复执行45亿观点
观察君
2025-11-26 10:33
导读
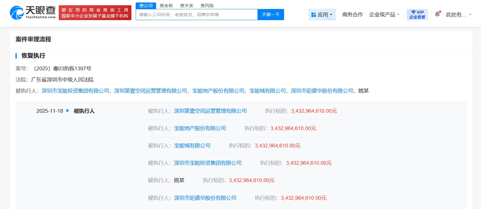
天眼查App显示,近日,深圳市宝能投资集团有限公司新增3则恢复执行信息,执行标的合计45亿余元,被执行人还包括姚振华、宝能地产股份有限公司等,执行法院为广东省深圳市中级人民法院。
天眼查App显示,近日,深圳市宝能投资集团有限公司新增3则恢复执行信息,执行标的合计45亿余元,被执行人还包括姚振华、宝能地产股份有限公司等,执行法院为广东省深圳市中级人民法院。
天眼风险信息显示,深圳市宝能投资集团有限公司现存50条被执行人信息,被执行总金额超540亿元,此外,该公司还存在多条限制消费令、失信被执行人(老赖)及终本案件信息。


姚振华
宝能集团
1.TMT观察网遵循行业规范,任何转载的稿件都会明确标注作者和来源;
2.TMT观察网的原创文章,请转载时务必注明文章作者和"来源:TMT观察网",不尊重原创的行为TMT观察网或将追究责任;
3.作者投稿可能会经TMT观察网编辑修改或补充。
