智元机器人获得境外投资许可观点
观察君
2026-01-13 16:20
导读
天眼查App显示,近日,智元创新(上海)科技股份有限公司新增一则行政许可,许可内容为企业境外投资,许可机关为上海市浦东新区商务委员会。
天眼查App显示,近日,智元创新(上海)科技股份有限公司新增一则行政许可,许可内容为企业境外投资,许可机关为上海市浦东新区商务委员会。
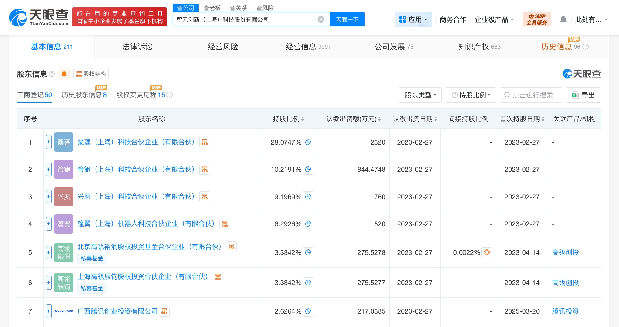
智元创新(上海)科技股份有限公司成立于2023年2月,法定代表人为邓泰华,注册资本约9128万人民币,经营范围含智能机器人的研发、服务消费机器人销售、智能机器人销售、人工智能理论与算法软件开发、人工智能基础软件开发、人工智能公共数据平台等。股东信息显示,该公司由桑蓬(上海)科技合伙企业(有限合伙)、管鲍(上海)科技合伙企业(有限合伙)、广西腾讯创业投资有限公司等共同持股。



智元机器人
1.TMT观察网遵循行业规范,任何转载的稿件都会明确标注作者和来源;
2.TMT观察网的原创文章,请转载时务必注明文章作者和"来源:TMT观察网",不尊重原创的行为TMT观察网或将追究责任;
3.作者投稿可能会经TMT观察网编辑修改或补充。
