哪吒汽车及方运舟新增16则限消令 哪吒汽车因劳动争议等案件被限消观点
观察君
2025-06-04 12:26
导读
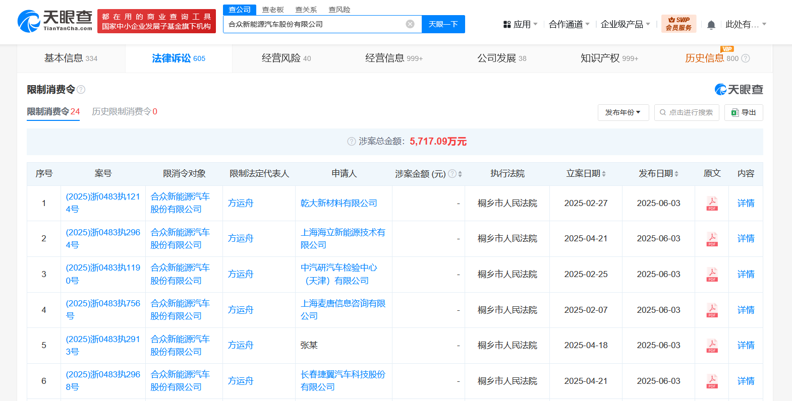
近日,哪吒汽车关联公司合众新能源汽车股份有限公司及其法定代表人方运舟新增16条限制消费令信息,涉及买卖合同纠纷、服务合同纠纷、劳动争议等案件,申请人包括中汽研汽车检验中心(天津)有限公司、北京中关村科金技术有限公司、芜湖森思泰克智能科技有限公司等,执行法院均为桐乡市人民法院。
天眼查深度风险信息显示,近日,哪吒汽车关联公司合众新能源汽车股份有限公司及其法定代表人方运舟新增16条限制消费令信息,涉及买卖合同纠纷、服务合同纠纷、劳动争议等案件,申请人包括中汽研汽车检验中心(天津)有限公司、北京中关村科金技术有限公司、芜湖森思泰克智能科技有限公司等,执行法院均为桐乡市人民法院。
合众新能源汽车股份有限公司成立于2014年10月,注册资本约28.37亿人民币,由南宁民生新能源产业投资合伙企业(有限合伙)、北京华鼎新动力股权投资基金(有限合伙)、宜春市金合股权投资有限公司等共同持股。



哪吒汽车
方运舟
1.TMT观察网遵循行业规范,任何转载的稿件都会明确标注作者和来源;
2.TMT观察网的原创文章,请转载时务必注明文章作者和"来源:TMT观察网",不尊重原创的行为TMT观察网或将追究责任;
3.作者投稿可能会经TMT观察网编辑修改或补充。
