万科已被冻结超13亿股权 万科商业版图盘点观点
观察君
2025-07-15 17:01
导读
据报道,近日,万科A公告,预计2025年1月1日至2025年6月30日归属于上市公司股东的净利润亏损100亿元-120亿元,引发多方关注。
据报道,近日,万科A公告,预计2025年1月1日至2025年6月30日归属于上市公司股东的净利润亏损100亿元-120亿元,引发多方关注。
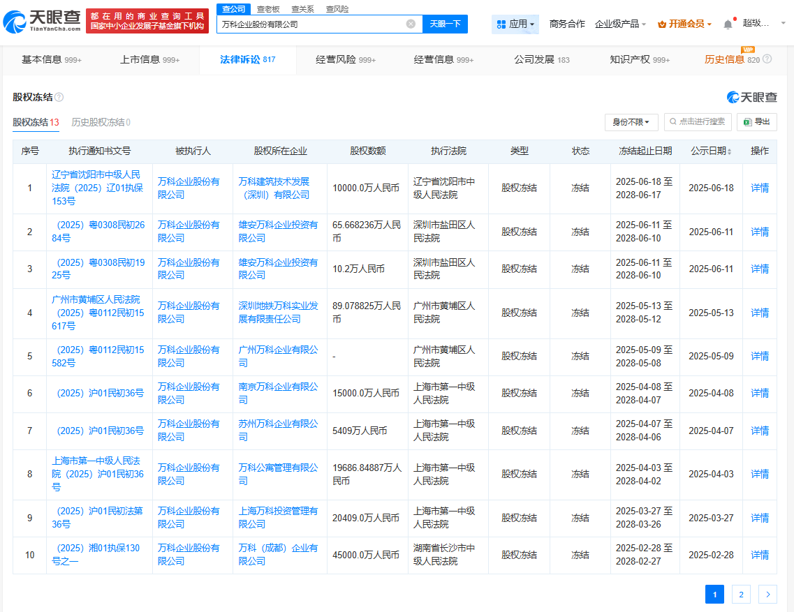
天眼查App显示,万科A(000002)成立于1984年5月,法定代表人为郁亮,注册资本约109.95亿人民币,由深圳市地铁集团有限公司、中央汇金资产管理有限责任公司等共同持股。天眼风险信息显示,该公司现存10余条股权冻结信息,冻结股权数额合计约13.67亿人民币。对外投资信息显示,该公司持有150家企业股份,包括万物云空间科技服务股份有限公司、深圳金晟硕庆创业投资中心(有限合伙)、万纬物流发展有限公司等,版图涉及物流、投资、资产管理等领域。通过直接或间接持股,该公司拥有数千家企业的实际控制权。




万科
1.TMT观察网遵循行业规范,任何转载的稿件都会明确标注作者和来源;
2.TMT观察网的原创文章,请转载时务必注明文章作者和"来源:TMT观察网",不尊重原创的行为TMT观察网或将追究责任;
3.作者投稿可能会经TMT观察网编辑修改或补充。
