湖州市股权投资公司登记成立 注册资本30亿观点
观察君
2025-11-28 15:38
导读
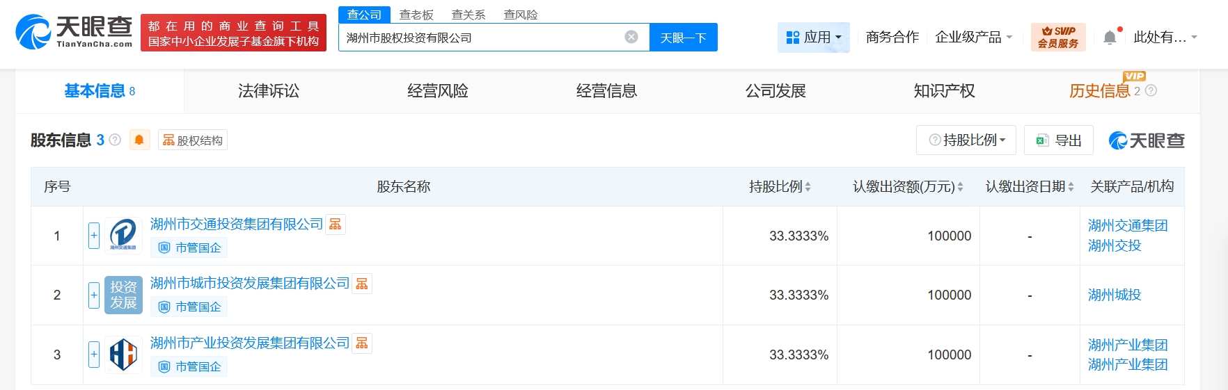
近日,湖州市股权投资有限公司成立,法定代表人为程习文,注册资本30亿人民币,经营范围为股权投资、以自有资金从事投资活动、自有资金投资的资产管理服务、企业管理咨询、企业总部管理、信息技术咨询服务、知识产权服务,由湖州市交通投资集团有限公司、湖州市城市投资发展集团有限公司、湖州市产业投资发展集团有限公司共同持股。
天眼查App显示,近日,湖州市股权投资有限公司成立,法定代表人为程习文,注册资本30亿人民币,经营范围为股权投资、以自有资金从事投资活动、自有资金投资的资产管理服务、企业管理咨询、企业总部管理、信息技术咨询服务、知识产权服务,由湖州市交通投资集团有限公司、湖州市城市投资发展集团有限公司、湖州市产业投资发展集团有限公司共同持股。


湖州市
1.TMT观察网遵循行业规范,任何转载的稿件都会明确标注作者和来源;
2.TMT观察网的原创文章,请转载时务必注明文章作者和"来源:TMT观察网",不尊重原创的行为TMT观察网或将追究责任;
3.作者投稿可能会经TMT观察网编辑修改或补充。
