红豆股份:控股股东成被执行人、票据持续逾期、遭纪律处分,对上市公司的控制权还稳定吗观点
作为国内知名的综合性企业集团,红豆集团不仅是民营经济的代表性企业之一,也是上市公司红豆股份的控股股东,直接持有红豆股份59.03%的股份,其经营状况与治理合规性直接决定着红豆股份的发展走向与股权稳定性。

文 | 秋山论商业
作为国内知名的综合性企业集团,红豆集团不仅是民营经济的代表性企业之一,也是上市公司红豆股份的控股股东,直接持有红豆股份59.03%的股份,其经营状况与治理合规性直接决定着红豆股份的发展走向与股权稳定性。
然而红豆集团近期麻烦缠身,被执行人身份持续发酵、票据逾期问题浮出水面、监管部门的纪律处分与行政监管措施接踵而至。
红豆集团今年新增3条被执行人信息,且被限制消费
企业预警通显示,2026年以来,红豆集团共新增3条被执行人信息,被执行金额也都不小。
江苏省南京市中级人民法院2026年1月30日立案的(2026)苏01执213号案件,红豆集团被执行金额4.64亿元;江苏省南京市雨花台区人民法院2026年2月10日立案的(2026)苏0114执恢125号,红豆集团被执行金额5384.41万元;江苏省南京市雨花台区人民法院2026年4月8日立案的(2026)苏0114执1728号,红豆集团被执行金额4623.84万元。

除了当前未了结的被执行人案件,红豆集团还有1起终本案件,即2025年7月7日南京市中级人民法院立案的(2025)苏01执1341号案件,执行标的高达6.36亿元,未履行金额达6.21亿元,该案件于2025年12月19日终本,意味着其短期内难以偿还该笔巨额债务。与此同时,红豆集团还在今年1月连续两次被采取限制高消费措施。
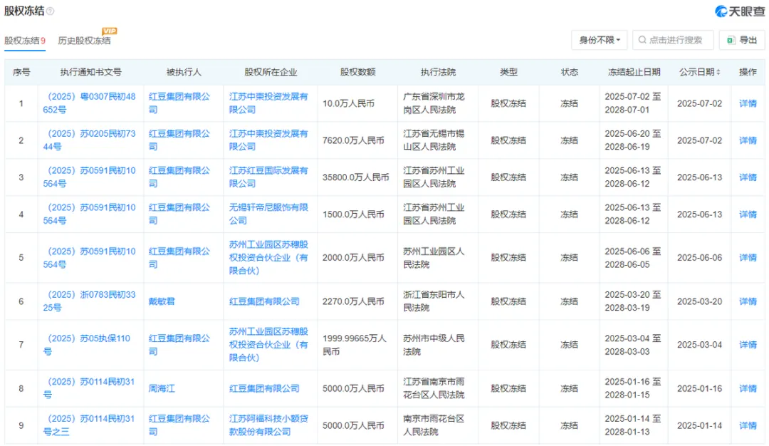
股权被冻结,对于红豆集团来说,似乎也已经成为常态。天眼查显示,2025年1月14日到7月2日,红豆集团一共有9条股权冻结信息,股权冻结数额从10万元到3.58亿元不等。

另据红豆股份2月14日发布的公告,红豆集团及其一致行动人周海江、无锡红闳服饰有限公司合计持有上市公司14.23亿股,占公司总股本的62.1%。截至2月13日,红豆集团所持8.28亿股被解除司法冻结,24.62亿股被解除轮候冻结。

本次股份解除冻结后,累计司法冻结5001.89万股,占所持股份总数的3.52%,占公司总股本的2.18%;累计司法标记4.77亿股,占所持股份总数的33.51%,占公司总股本的20.81%;司法冻结和司法标记合计5.27亿股,占所持股份总数的37.02%,占公司总股本的22.99%。红豆集团累计轮候冻结3.61亿股,占所持股份总数的26.62%,占公司总股本的15.72%。

事实上,红豆集团这种司法问题带来对上市公司控股权稳定性的风险或许已经开始显现,毕竟该集团的实控人周海江名下的上市公司股票已经被司法强制执行了。

就在4月10日,红豆股份发布公告称,该公司控股股东红豆集团的一致行动人,也是控股股东的实控人周海江名下用于融资担保的红豆股份股权,已有458.6万股被司法强制执行。
红豆集团票据持续逾期,累计逾期发生额已达700万元
除了被执行人和司法冻结问题,红豆集团的票据逾期问题同样比较严重。2026年4月8日,上海票据交易所披露的持续逾期名单中,红豆集团赫然在列,而且这种状态已经持续了很长一段时间。截至2026年3月31日,红豆集团票据承兑逾期余额310万元,累计逾期发生额700万元。

票据逾期通常意味着企业无法按时足额支付票据款项,核心原因是短期现金流紧张,无法覆盖到期债务。结合红豆集团的财务状况与被执行情况来看,其近期面临的资金压力可能已达到难以支撑短期债务兑付的程度。一方面,巨额被执行款项占用了其大量流动资金;另一方面,股权冻结、资产处置等情况导致其融资渠道受限,难以通过新增融资弥补资金缺口,进而引发票据持续逾期。
从行业影响来看,票据持续逾期将直接影响红豆集团的商业信用,导致其与供应商、合作伙伴的合作受限。供应商可能会收紧信用政策,要求红豆集团预付货款或现款结算,进一步加剧其资金周转压力;而金融机构也可能会提高融资门槛、缩减授信额度,使得红豆集团难以通过票据贴现、银行贷款等方式获得短期资金。
更为关键的是,票据逾期可能会进一步传导至上市公司红豆股份。红豆集团与红豆股份存在密切的关联交易,截至2025年9月30日,红豆股份对红豆集团的逾信用期应收账款余额达4509.43万元。在此之前,2024年底红豆股份对红豆集团的1.1亿元应收账款已发生过逾期,虽于2025年4月30日前全部收回,但2025年再次出现逾期,反映出红豆集团对上市公司偿债能力的不足。
因信披违规、资金占用等问题,红豆集团遭双重问责
票据持续逾期的同时,红豆集团遭到了监管部门的双重问责。2026年4月2日,红豆集团同时遭到上海证券交易所的纪律处分与江苏证监局的行政监管措施,涉及信息披露违规、资金占用等多项违规行为。
上海证券交易所对红豆集团的纪律处分,主要源于其作为江苏通用科技股份有限公司原控股股东期间的信息披露违规行为。根据上交所披露的纪律处分决定书,2024年8月至2025年5月期间,红豆集团多次将持有的通用股份股份进行质押,涉及股份数量合计占通用股份总股本的9.23%,但未及时披露上述股份质押情况。
2024年9月至2025年6月期间,红豆集团所持通用股份股份多次被司法冻结、司法标记。截至2025年2月14日,累计被冻结、标记比例已超过5%,达到信息披露的触发标准,但红豆集团未及时披露,违反了《上海证券交易所股票上市规则》的相关规定。鉴于上述违规事实,上交所对红豆集团予以通报批评,并将该处分通报中国证监会,记入证券期货市场诚信档案数据库。

4月2日,江苏证监局对红豆集团采取了两项行政监管措施,分别是责令改正与出具警示函,涉及资金占用与信息披露违规两大问题。
2024年底,红豆股份对红豆集团的1.1亿元应收账款发生逾期,虽于2025年4月全部收回,但2025年再次出现逾期。截至2025年9月30日,逾信用期应收账款余额达4509.43万元,红豆股份在2024年已出现逾期的情况下,未对关联应收账款严格控制并及时催收,构成控股股东占用上市公司资金。
2024年11月,红豆集团办理2笔股票质押业务,但未及时告知红豆股份,导致红豆股份2025年1月披露的相关公告中,股权质押信息不准确;2025年5月,红豆集团通过预付款方式非经营性占用红豆股份1250万元资金,且红豆股份未在2025年半年度报告中披露该事项。
基于上述违规行为,江苏证监局对红豆集团采取责令改正措施,要求其强化信息披露管理,履行信息披露义务,同时出具警示函提醒其规范经营,杜绝此类违规行为再次发生。值得一提的是,3月31日,江苏证监局也曾对红豆集团采取出示警示函措施,原因同样是信息披露违规。

监管部门的双重问责,不仅暴露了红豆集团在信息披露、关联交易管理等方面的严重不足,也反映出其公司治理结构存在明显缺陷。
那么,成被执行人、票据持续逾期、遭纪律处分、被采取行政监管措施的红豆集团,在出现这么多问题的情况下,对红豆股份的控制权还能保持稳定吗?
1.TMT观察网遵循行业规范,任何转载的稿件都会明确标注作者和来源;
2.TMT观察网的原创文章,请转载时务必注明文章作者和"来源:TMT观察网",不尊重原创的行为TMT观察网或将追究责任;
3.作者投稿可能会经TMT观察网编辑修改或补充。
