碧桂园地产等被强制执行1.3亿观点
观察君
2024-09-29 15:21
导读
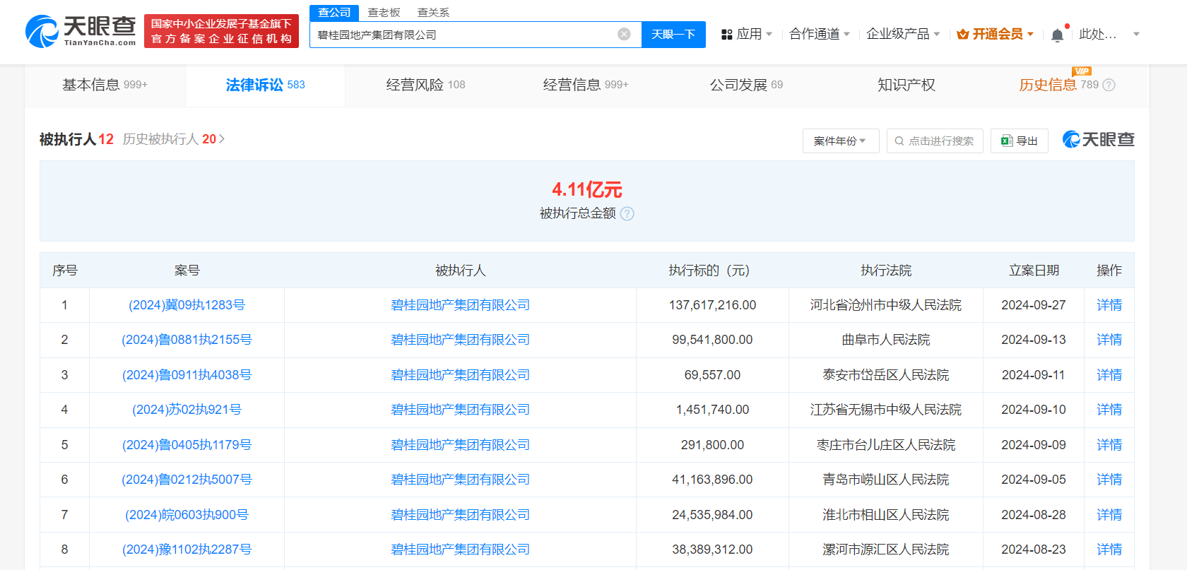
近日,碧桂园地产集团有限公司、秦皇岛广卓房地产开发有限公司、河北碧桂园凤凰置业有限公司等新增一则被执行人信息,执行标的1.3亿余元,涉及金融借款合同纠纷案件,执行法院为河北省沧州市中级人民法院。
天眼查法律诉讼信息显示,近日,碧桂园地产集团有限公司、秦皇岛广卓房地产开发有限公司、河北碧桂园凤凰置业有限公司等新增一则被执行人信息,执行标的1.3亿余元,涉及金融借款合同纠纷案件,执行法院为河北省沧州市中级人民法院。
风险信息显示,碧桂园地产集团有限公司现存10余条被执行人信息,被执行总金额超4.1亿元。此外,该公司还存在多条限制消费令、失信被执行人(老赖)及终本案件信息。


碧桂园地产
1.3亿
1.TMT观察网遵循行业规范,任何转载的稿件都会明确标注作者和来源;
2.TMT观察网的原创文章,请转载时务必注明文章作者和"来源:TMT观察网",不尊重原创的行为TMT观察网或将追究责任;
3.作者投稿可能会经TMT观察网编辑修改或补充。
