三星Note10 Pro参数曝光:后置4摄+5G必不可少快报
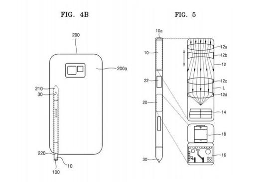
有消息称新款S-Pen将内置摄像头,三星将于8月左右推出全新旗舰三星Galaxy Note10系列机型,高配版机型将命名为Galaxy Note10 Pro。
【TechWeb】继在2月底结束的MWC大展上推出了旗下开年旗舰Galaxy S10系列机型之后,三星在旗舰机上的重心就转移到了下半年的Note系列旗舰上,不出意外的话,三星将于8月左右推出全新旗舰三星Galaxy Note10系列机型。现在有最新消息,三星Note10系列可能会沿用S10的产品策略。

据外媒爆料,三星计划在Note系列产品线上采用与S10系列相似的产品策略,而且三星将改变以往的命名方式,高配版机型将命名为Galaxy Note10 Pro。不仅如此,外媒还带来了这一高配版机型的相关配置参数。

据外媒透露的消息,传闻中的三星Note10 Pro将搭载6.75英寸QHD+超感光开孔全视屏,支持HDR+高动态范围图像,搭载的仍为高通骁龙855移动平台,同时内置X50 5G基带以支持5G网络。不过不清楚是专门的5G版本,还是直接在高配版中集成5G网络。

此外,Note10 Pro将后置横排四摄,分别为1200万像素广角镜头+1200万像素长焦镜头+1600万像素超广角镜头+TOF镜头,前置1000万+800万像素双摄像头。并将配备S-Pen手写笔,有消息称新款S-Pen将内置摄像头,并将支持光学防抖和变焦。
据悉,三星将今年8月份左右推出全新的Galaxy Note 10系列新机,更多详细信息,我们拭目以待。
1.TMT观察网遵循行业规范,任何转载的稿件都会明确标注作者和来源;
2.TMT观察网的原创文章,请转载时务必注明文章作者和"来源:TMT观察网",不尊重原创的行为TMT观察网或将追究责任;
3.作者投稿可能会经TMT观察网编辑修改或补充。
