三星可卷曲电视屏专利方案泄露:售价至少万元以上快报
TechWeb.com.cn
2019-01-01 14:25
导读
外媒曝光了三星的一项可卷曲OLED显示技术专利,不过三星这项专利技术,鉴于这是一个全新电视产品系列。
【TechWeb】作为两大屏幕制造领域巨头,三星和LG一直在不断研发新产品,以提供给市场或用户更好的新产品。现在家用电视形态正在朝着另一个全新领域迈进,随着新一届消费电子展(CES 2019)的临近,外媒曝光了三星的一项可卷曲OLED显示技术专利。
既然LG是三星直接竞争对手,它也同样在可卷曲电视屏方面,LG已经做好了将这项技术进行商业化应用的准备。

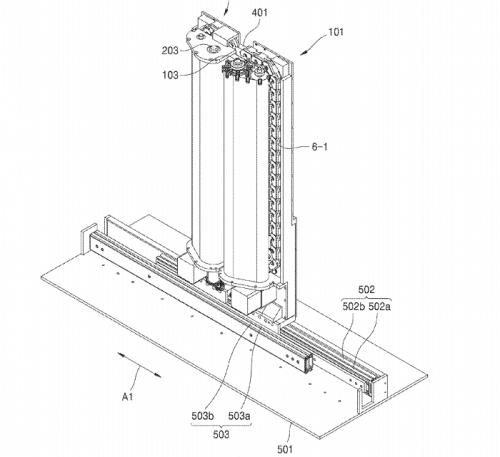
不过三星这项专利技术,更多是在屏幕两侧的卷筒做出创新,卷筒为其提供了机械结构上的支撑。与垂直的安装方式相比,三星专利技术让柔性显示屏在水平面上保持平坦,这个创意很好,但对厂商在这方面的技术挑战也很大。
既然作为屏幕研发领域的老手,三星也思考了具体解决方案,它在屏幕背部提供了中央支撑。当显示器完全缩回到其支撑塔中时,中心支撑部件可以整齐地部署在两个辊子后面。

鉴于这是一个全新电视产品系列,最终在市场销售,该产品价格也可能会是万元价格以上。这项技术有助于让电视介入到平面/曲面电视之间的一个新领域,消费者从来不会抵触尝鲜,如果产品体验足够给力,相信可卷曲电视,会是一个相当吸引人的卖点。
目前这还是属于一个概念摄像阶段,具体普及时间未知,你觉得三星或LG,哪一家会提前将可卷曲电视,变为现实?
三星
电视
技术
卷曲
LG
1.TMT观察网遵循行业规范,任何转载的稿件都会明确标注作者和来源;
2.TMT观察网的原创文章,请转载时务必注明文章作者和"来源:TMT观察网",不尊重原创的行为TMT观察网或将追究责任;
3.作者投稿可能会经TMT观察网编辑修改或补充。
