富力地产等被执行11.1亿观点
观察君
2026-03-03 17:41
导读
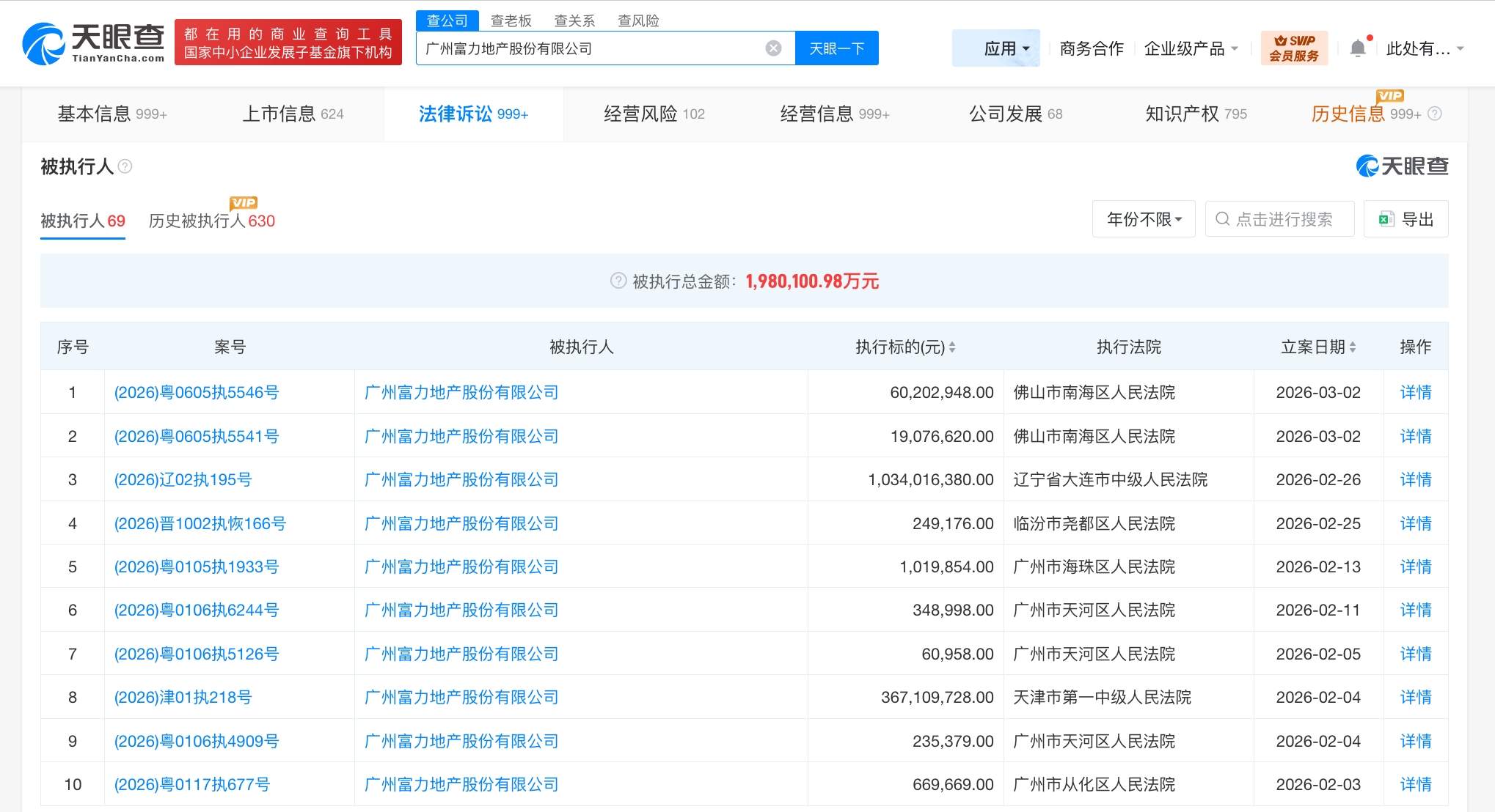
天眼查法律诉讼信息显示,2月26日至3月2日,广州富力地产股份有限公司新增3则被执行人信息,执行标的合计11.1亿余元,被执行人还包括大连恒湾房地产开发有限公司、沈阳恒高房地产开发有限公司等,执行法院为辽宁省大连市中级人民法院、佛山市南海区人民法院。
天眼查法律诉讼信息显示,2月26日至3月2日,广州富力地产股份有限公司新增3则被执行人信息,执行标的合计11.1亿余元,被执行人还包括大连恒湾房地产开发有限公司、沈阳恒高房地产开发有限公司等,执行法院为辽宁省大连市中级人民法院、佛山市南海区人民法院。
广州富力地产股份有限公司成立于1994年8月,法定代表人为李思廉,注册资本约37.5亿人民币,经营范围为房地产开发经营、房地产咨询服务、场地租赁等。股东信息显示,该公司由李思廉、张力等共同持股。天眼风险信息显示,该公司现存69条被执行人信息,此外,该公司还存在多条失信被执行人(老赖)、终本案件及股权冻结信息。


富力地产
1.TMT观察网遵循行业规范,任何转载的稿件都会明确标注作者和来源;
2.TMT观察网的原创文章,请转载时务必注明文章作者和"来源:TMT观察网",不尊重原创的行为TMT观察网或将追究责任;
3.作者投稿可能会经TMT观察网编辑修改或补充。
