启境汽车今年已申请GT7商标 启境汽车已申请GT8和GT9商标观点
观察君
2026-04-24 22:00
导读
据媒体报道,今日,启境GT7亮相2026北京车展,据悉,其将搭载全新一代HUAWEIXPIXEL双百万像素彩色智慧投影大灯,预计6月将正式上市。
据媒体报道,今日,启境GT7亮相2026北京车展,据悉,其将搭载全新一代HUAWEIXPIXEL双百万像素彩色智慧投影大灯,预计6月将正式上市。
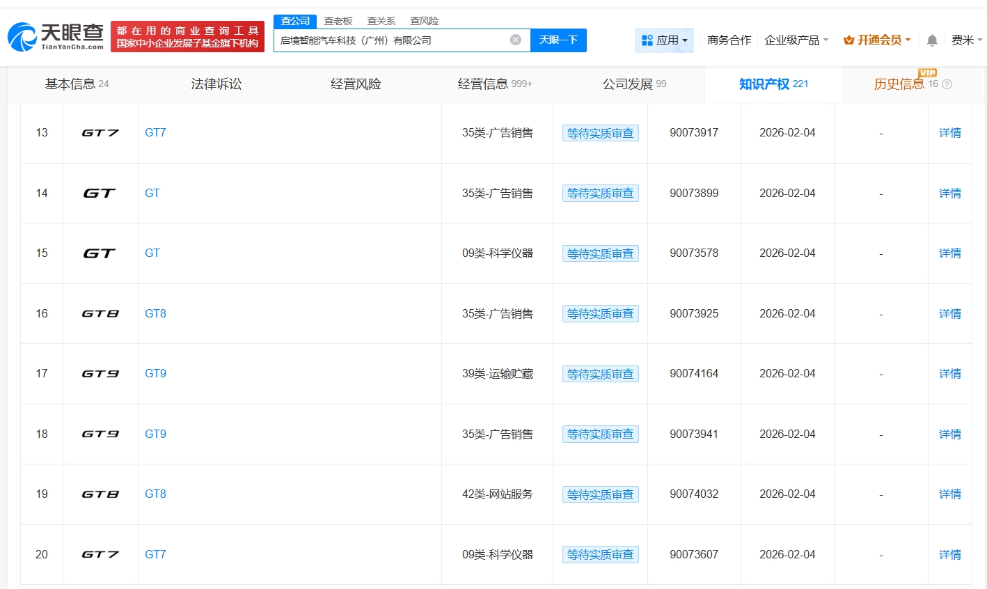
天眼查知识产权信息显示,今年2月,启境汽车关联公司启境智能汽车科技(广州)有限公司已申请注册多枚“GT7”“GT8”“GT9”商标,国际分类包括科学仪器、广告销售等,目前商标状态均为等待实质审查。
该公司成立于2025年3月,法定代表人为閤先庆,注册资本21亿人民币,经营范围包括汽车销售、汽车零部件及配件制造、汽车零配件批发等,由广州汽车集团股份有限公司、广汽埃安新能源汽车股份有限公司共同持股。



启境汽车
1.TMT观察网遵循行业规范,任何转载的稿件都会明确标注作者和来源;
2.TMT观察网的原创文章,请转载时务必注明文章作者和"来源:TMT观察网",不尊重原创的行为TMT观察网或将追究责任;
3.作者投稿可能会经TMT观察网编辑修改或补充。
