时光分期投诉飙升!借2万先扣3000元,注册不贷款也扣费...观点
近期,网贷平台时光分期投诉率飙升,在黑猫投诉平台跻身行业第四名,近30日投诉量2500次,累计投诉3.8万条。根据用户投诉,时光分期投诉主要集中在暴力催收,违规扣取会员费、担保费,高额收息、砍头息问题严重。
近期,网贷平台时光分期投诉率飙升,在黑猫投诉平台跻身行业第四名,近30日投诉量2500次,累计投诉3.8万条。根据用户投诉,时光分期投诉主要集中在暴力催收,违规扣取会员费、担保费,高额收息、砍头息问题严重。

根据用户投诉,时光分期高息收费问题严重,年化利率甚至超过监管红线。有用户投诉,25年4月借款4000元,12期还款4823.74元,叠加服务费后,IRR真实年化利率高达36%以上,属于变相高利贷。

这样的投诉并非个例,另有用户投诉,平台每期违规收取高额担保服务费,但却没有实质性业务,利息+担保费,综合利率接近36%,严重违反监管规定,超过法定保护上限。

时光分期的强制扣费问题严重,有用户投诉:未知扣款了两笔会员费用,且全程未知,请帮忙处理;不仅贷款扣费,不贷款也会乱扣费:之前下载过时光分期想要贷款,还没贷款就莫名其妙被扣了好几次费用。

在时光分期借款过程中,不仅有会员费,还有担保服务费,且费用未曾充分告知,也未在合同中列示,属于强制捆绑收费。
根据助贷新规,如果平台仅以“担保费”“会员费”为名义拆分定价、变相提高利率,并未提供任何实质担保服务(比如没有风险兜底、增信支持),或者未提前明确告知收费、默认扣费,这种无实质服务的收费属于违规。

时光分期的暴力催收问题严重。有用户还分享了时光分期的讨论:打算提前结清,工作人员到期不联系;然后逾期之后就是暴力催收,威胁家人,随后便将催收扩大到周边人。

更为严重的是,在助贷新规出来后,时光分期违规收费行为依旧肆无忌惮,2026年2月借款12000元,先扣除1200元,第二天再扣1800元,砍头息问题严重。
好消息是,2026年3月15日,国家金融监督管理总局、中国人民银行发布《个人贷款业务明示综合融资成本规定》,该规定将于2026年8月1日正式施行,要求线上贷款必须弹窗公示所有息费、设置强制阅读,除已明示费用外不得收取任何其他费用,从披露端进一步封堵违规空间。
官网显示,时光分期是时光金科旗下的信贷服务品牌,与银行等持牌金融机构伙伴合作,专注为个人消费者和小微企业提供即时到账的信用借款服务。时光分期已与多家金融机构合作,累计为3500万+用户提供优质信贷服务。

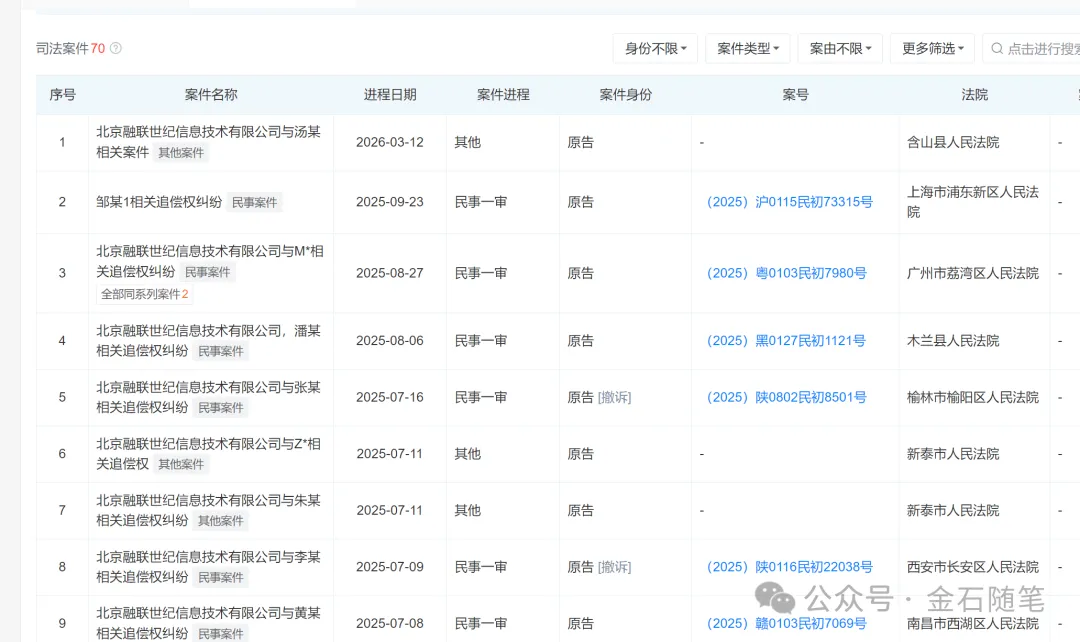
天眼查显示,时光分期运行主体北京融联世纪信息技术有限公司旗下有70起司法诉讼,而时光分期基本是原告,基本都是追偿权纠纷,应该是借款形成逾期无法收回。一方面说明,时光分期放宽容易,但是筛选用户宽松;另一方面逾期将大幅打压该公司业绩,尤其助贷新规之下,正常经营或面临困难。

1.TMT观察网遵循行业规范,任何转载的稿件都会明确标注作者和来源;
2.TMT观察网的原创文章,请转载时务必注明文章作者和"来源:TMT观察网",不尊重原创的行为TMT观察网或将追究责任;
3.作者投稿可能会经TMT观察网编辑修改或补充。
