揭秘董宇辉带货土豆供应商 董宇辉带货土豆供应商9月初已获有机认证观点
观察君
2024-10-22 15:35
导读
10月22日,打假博主@王海 发文称,董宇辉高价卖“假有机”土豆。
10月22日,打假博主@王海 发文称,董宇辉高价卖“假有机”土豆。对此,售卖该产品的店铺“围场县电商中心”回应称,从来没有宣传过是有机土豆,是无化肥无农药的,同时否认在详情页中出现过“有机”字样。与辉同行客服也表示,已收到提醒,感谢反馈。
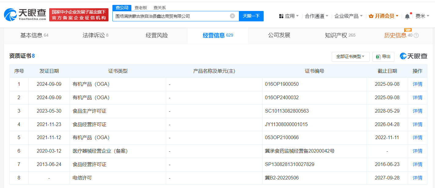
天眼查App显示,董宇辉带货土豆供应商围场满族蒙古族自治县鑫达商贸有限公司成立于2002年4月,法定代表人为刘景明,注册资本1000万人民币,经营范围包括食品销售、互联网信息服务、农副产品销售、普通货物仓储服务等,由刘景明、李淑芝共同持股。经营信息显示,9月9日,该公司获得两项有机产品(OGA)证书,认证范围均为其有机种植基地,产品名称为阳芋(马铃薯、土豆),两项认证范围内产品面积合计5.88公顷,土豆130.5吨。知识产权信息显示,该公司已成功注册多枚“木兰围场”商标,国际分类涉及广告销售、食品等。





董宇辉
土豆
1.TMT观察网遵循行业规范,任何转载的稿件都会明确标注作者和来源;
2.TMT观察网的原创文章,请转载时务必注明文章作者和"来源:TMT观察网",不尊重原创的行为TMT观察网或将追究责任;
3.作者投稿可能会经TMT观察网编辑修改或补充。
