法法汽车增资至4.59亿 法法汽车年内4次增资观点
观察君
2025-08-28 15:59
导读
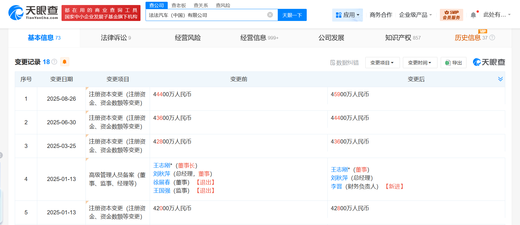
天眼查工商信息显示,近日,法法汽车(中国)有限公司发生工商变更,注册资本由4.44亿人民币增至4.59亿人民币。值得注意的是,这已是该公司今年第4次增资。
天眼查工商信息显示,近日,法法汽车(中国)有限公司发生工商变更,注册资本由4.44亿人民币增至4.59亿人民币。值得注意的是,这已是该公司今年第4次增资。
法法汽车(中国)有限公司成立于2017年3月,法定代表人为王志刚,经营范围含汽车销售、新能源汽车整车销售、汽车零部件及配件制造、汽车零配件批发、计算机软硬件及辅助设备批发、计算机软硬件及辅助设备零售等。股东信息显示,该公司由FF Hong Kong Holding Limited、乐视汽车科技(北京)有限公司共同持股。



法法汽车
1.TMT观察网遵循行业规范,任何转载的稿件都会明确标注作者和来源;
2.TMT观察网的原创文章,请转载时务必注明文章作者和"来源:TMT观察网",不尊重原创的行为TMT观察网或将追究责任;
3.作者投稿可能会经TMT观察网编辑修改或补充。
