字节跳动登记抖省省logo作品著作权 字节跳动申请注册抖省省商标观点
观察君
2026-03-26 12:07
导读
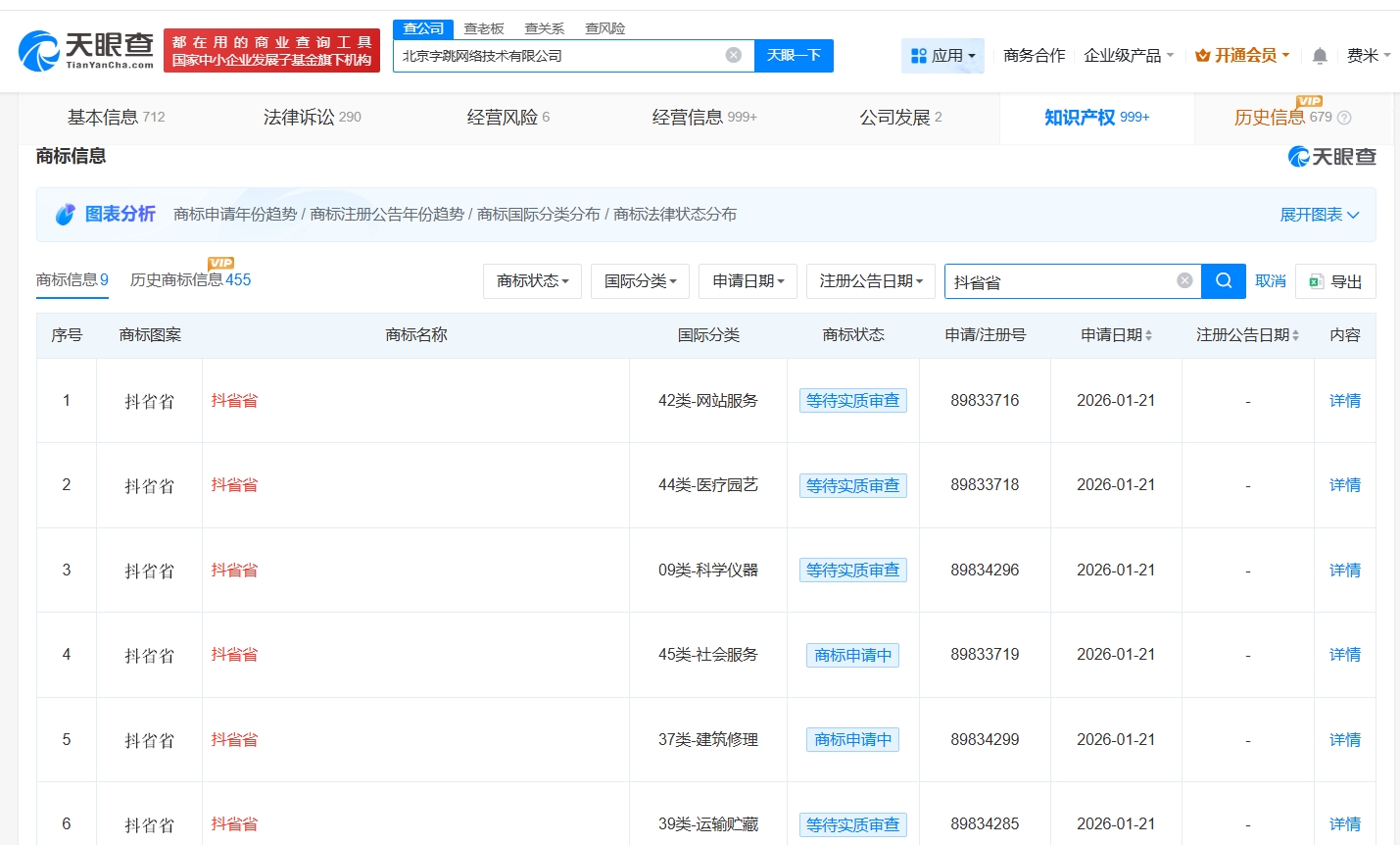
近日,成都光合信号科技有限公司登记“抖省省logo”作品著作权,作品类别为美术。值得一提的是,今年1月,北京字跳网络技术有限公司申请注册多枚“抖省省”商标,国际分类包括科学仪器、网站服务、医疗园艺等,当前商标状态均为等待实质审查。
天眼查知识产权信息显示,近日,成都光合信号科技有限公司登记“抖省省logo”作品著作权,作品类别为美术。值得一提的是,今年1月,北京字跳网络技术有限公司申请注册多枚“抖省省”商标,国际分类包括科学仪器、网站服务、医疗园艺等,当前商标状态均为等待实质审查。
成都光合信号科技有限公司成立于2022年3月,法定代表人为杨成,注册资本100万人民币,经营范围包括软件开发、企业管理咨询、广告制作等,由北京字跳网络技术有限公司全资持股。
据媒体报道,今年2月,抖音上线一款名为“抖省省”的官方团购App,主打吃喝玩乐低价团购与优惠省钱。




字节跳动
抖省省
1.TMT观察网遵循行业规范,任何转载的稿件都会明确标注作者和来源;
2.TMT观察网的原创文章,请转载时务必注明文章作者和"来源:TMT观察网",不尊重原创的行为TMT观察网或将追究责任;
3.作者投稿可能会经TMT观察网编辑修改或补充。
